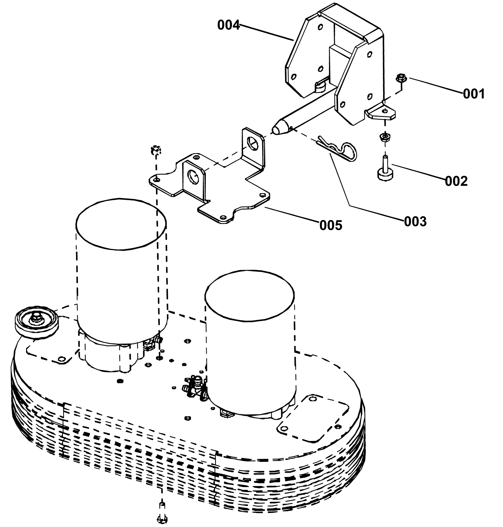
Option-Quick Scrubhead Connect
Click to enlarge