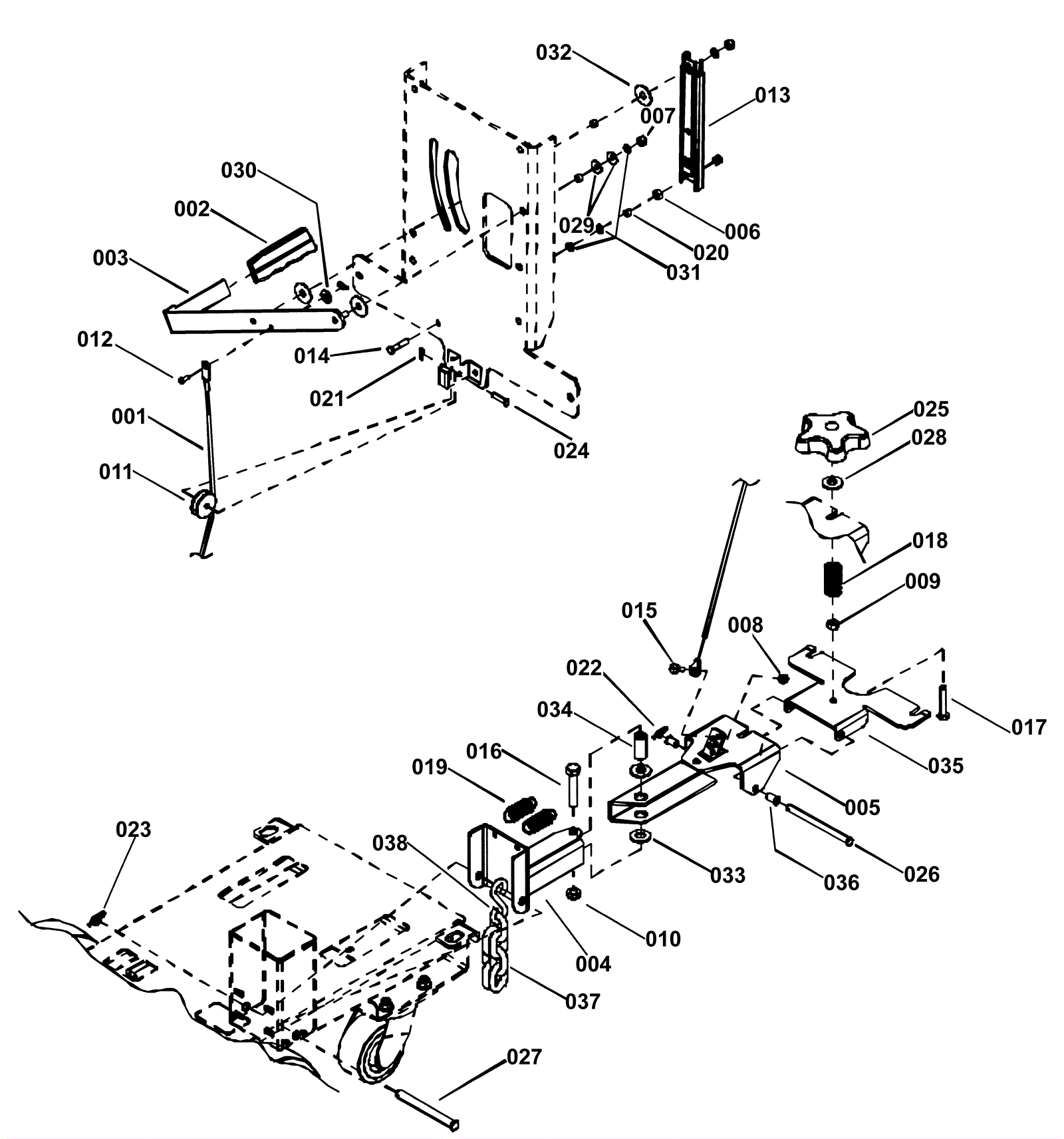
Squeegee Lift Group
Click to enlarge