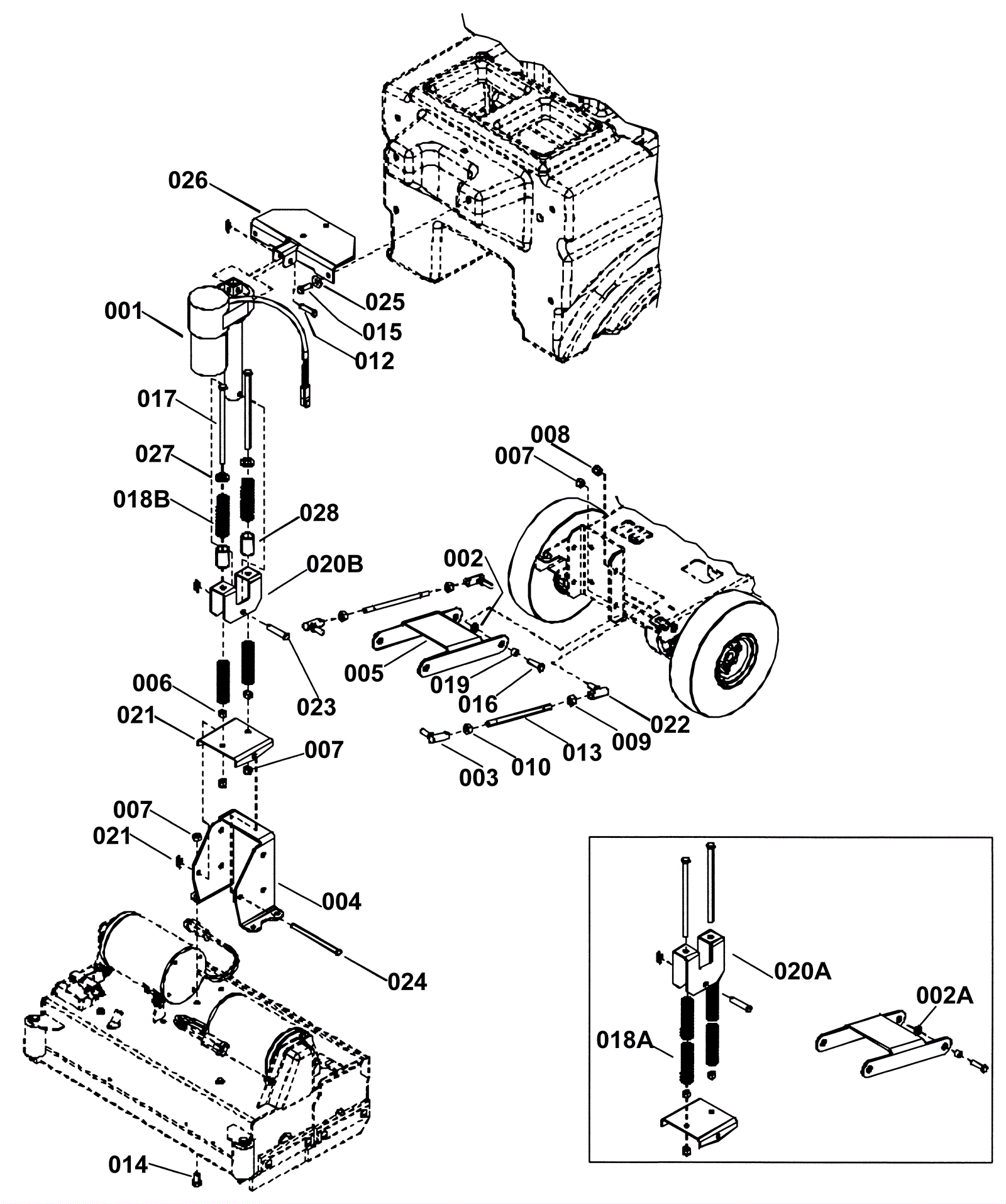
Scrubhead Lift group-Cylindrical
Click to enlarge