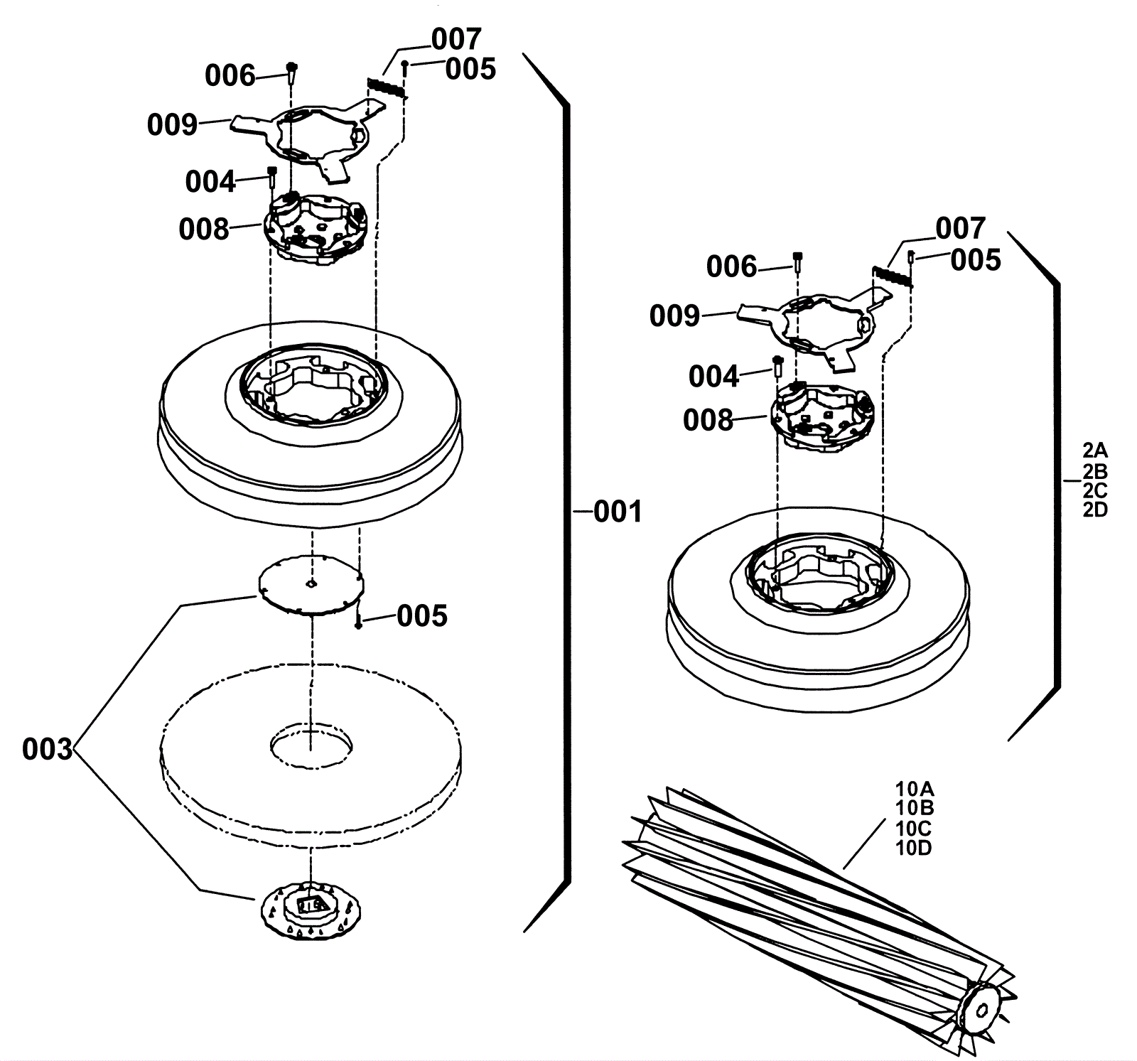
Scrub Brush/Pad Driver Group (Star Drive)-24 Inch
Click to enlarge