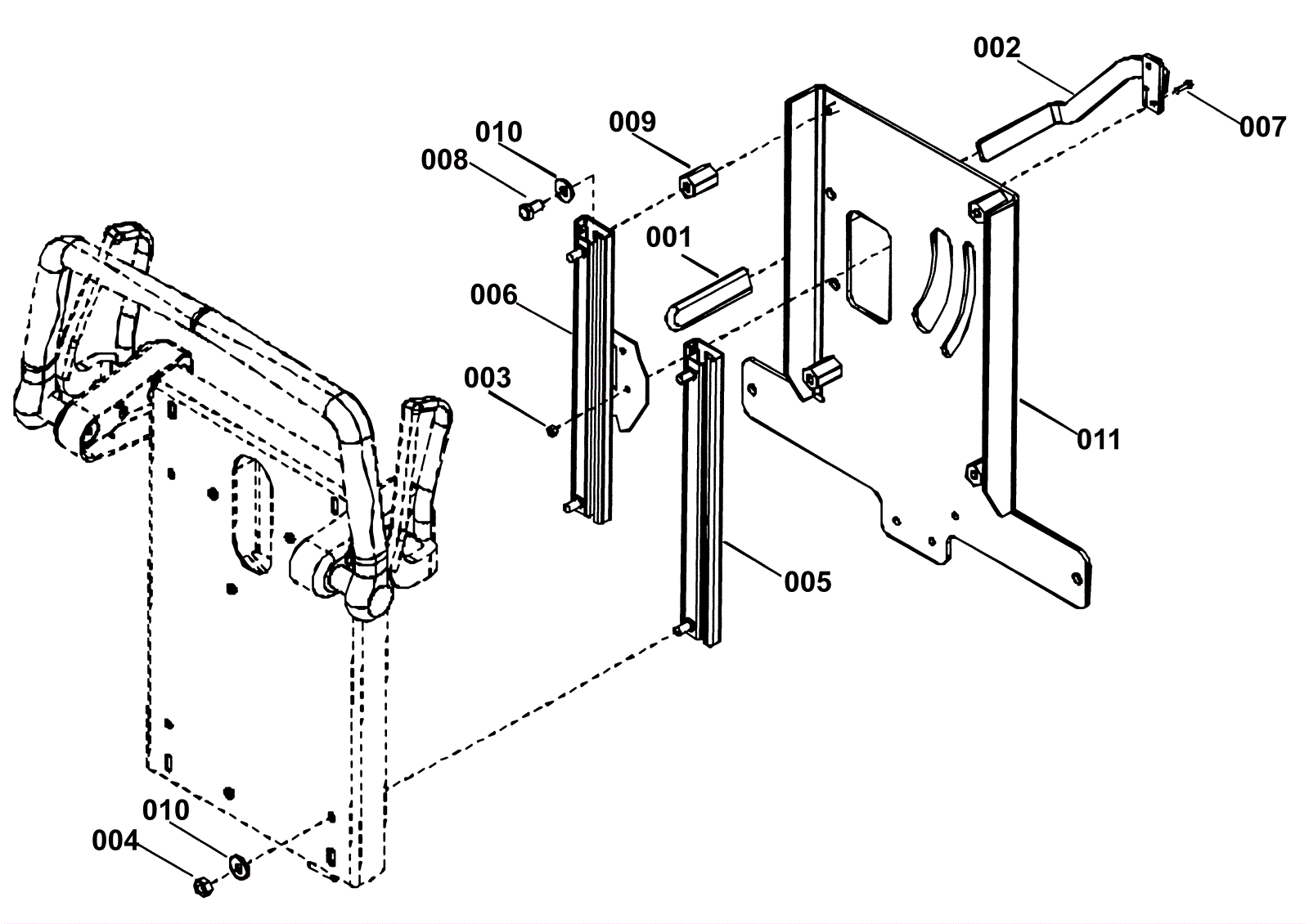
Control Tower Adjustment Group
Click to enlarge