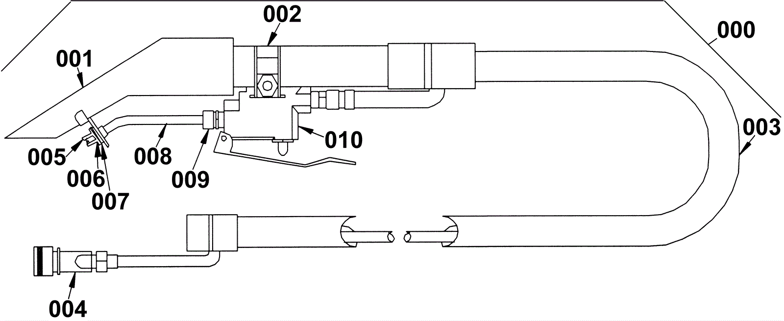
# | Part | Description | Price | Req | Notes | Availability |
000 |
273-5580
|
Hand tool kit |
$253.06
|
|
Entire assembly as KIT |
usually ships 11-15 days |
001 |
173-7017
|
Spotter handtool housing (OBSOLETE) |
$80.47
|
|
|
usually ships 11-15 days |
002 |
173-4992
|
Clamp valve |
$45.67
|
|
|
usually ships 1-5 days |
003 |
173-7018
|
Hose/cuff connector hose assembly |
$174.90
|
|
|
usually ships 1-5 days |
004 |
991-8157
|
1/8 inch female quick disconnect socket |
$22.20
|
|
|
ships same day |
005 |
173-7020
|
Jet assembly without ring (OBSOLETE) |
$52.25
|
|
|
usually ships 11-15 days |
006 |
173-7021
|
Screw 8-32 x 1/4 pleated plastic |
$1.12
|
|
|
ships same day |
007 |
173-7022
|
Retainer plate with screws |
$25.89
|
|
|
usually ships 11-15 days |
008 |
173-7023
|
Spotter manifold 3/16 |
$62.98
|
|
|
usually ships 11-15 days |
009 |
173-7024
|
Fitting 1/8 x 3/16 |
$20.13
|
|
|
usually ships 11-15 days |
010 |
173-7025
|
Spotter plastic valve assembly (OBSOLETE) |
$70.95
|
|
|
usually ships 11-15 days |