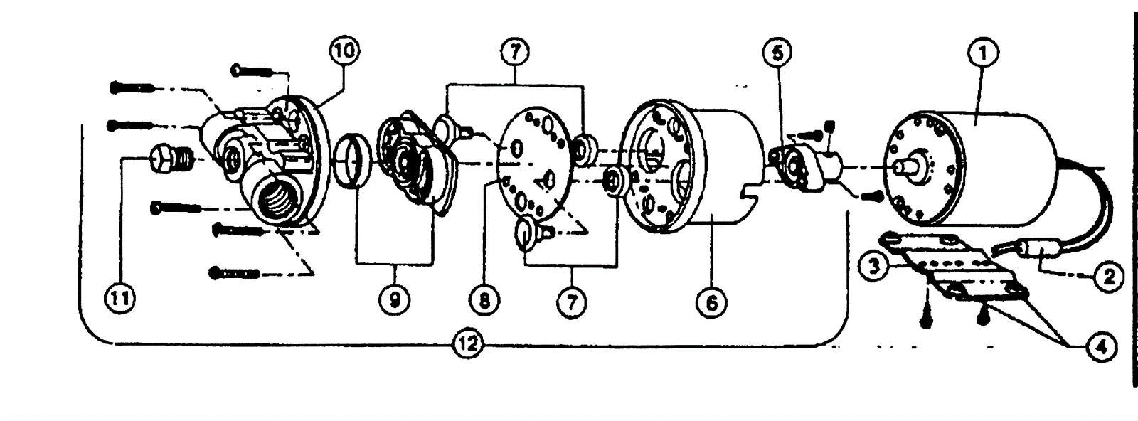
Pump Assembly