| # | Part | Description | Price | Req | Notes | Availability |
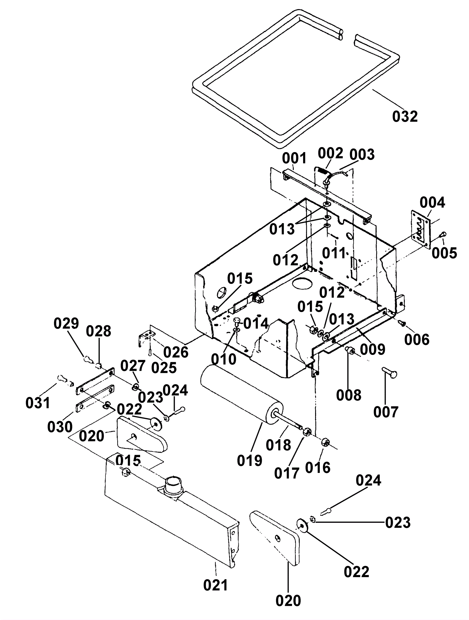
001 |
173-2125
|
Roller adjustment bracket (OBSOLETE) |
$32.87
|
|
|
usually ships 1-5 days |
002 |
173-2126
|
#55 music wire spring |
$15.84
|
|
|
usually ships 1-5 days |
003 |
173-2127
|
Roller adjustment lever assembly |
$67.09
|
|
|
usually ships 1-5 days |
004 |
173-2128
|
Height adjustment plate (OBSOLETE) |
$28.00
|
|
|
usually ships 1-5 days |
005 |
173-2508
|
Screw 10-32 x 3/8 pan head thread rolling |
$0.99
|
|
|
usually ships 1-5 days |
006 |
999-0694
|
Screw 1/4-20 x 1/2 flat head phillips zinc plated |
$0.99
|
|
|
ships same day |
007 |
999-9072
|
Bolt 1/4-20 x 1 hex head cap |
$7.32
|
|
|
ships same day |
008 |
173-2129
|
Roller bracket spacer |
$3.63
|
|
|
usually ships 1-5 days |
009 |
173-2130
|
Roller mounting bracket |
$47.95
|
|
|
usually ships 1-5 days |
010 |
999-0017
|
Washer 1/4 external star lock |
$0.99
|
|
|
ships same day |
011 |
173-1039
|
Cotter Pin 1/16 x 3/4 |
$0.99
|
|
|
usually ships 1-5 days |
012 |
999-0123
|
Washer 1/4 SAE flat zinc plated |
$0.99
|
|
|
ships same day |
013 |
999-1007
|
Washer 3/8 x 1/16 flat nylon |
$0.99
|
|
|
ships same day |
015 |
999-0152
|
Nut 1/4-20 nylon insert lock zinc plated |
$0.99
|
|
|
ships same day |
016 |
999-0247
|
Nut 3/8-16 hex jam plain finish |
$0.99
|
|
|
ships same day |
017 |
999-0513
|
Nut 3/8-16 nylon insert lock type NE stainless steel |
$3.96
|
|
|
ships same day |
018 |
173-2131
|
Roller axle |
$50.93
|
|
|
usually ships 1-5 days |
019 |
173-2132
|
Roller (OBSOLETE) |
$49.13
|
|
|
usually ships 1-5 days |
020 |
173-2133
|
Vacuum shoe weight (OBSOLETE) |
$22.78
|
|
|
usually ships 1-5 days |
021 |
N/A
|
Not available |
Call for price
|
|
(Vacuum shoe) |
usually ships 3-26 days |
022 |
999-0016
|
Washer 1/4 flat plain finish |
$0.99
|
|
|
ships same day |
023 |
999-0311
|
Washer #10 external star lock zinc plated |
$0.99
|
|
|
ships same day |
024 |
999-0371
|
Screw 10-32 x 1/2 pan head phillips zinc plated |
$0.99
|
|
|
ships same day |
025 |
173-2046
|
Rivet |
$1.19
|
|
|
usually ships 11-15 days |
026 |
173-2044
|
Belt guard gusset (OBSOLETE) |
$11.65
|
|
|
usually ships 1-5 days |
027 |
999-1053
|
Washer 5/16 internal star lock stainless steel |
$0.99
|
|
|
ships same day |
028 |
173-2035
|
Spacer |
$6.22
|
|
|
usually ships 1-5 days |
029 |
999-0383
|
Screw 1/4-20 x 1/2 button head socket cap plain finish |
$0.99
|
|
|
ships same day |
030 |
173-2137
|
Parallel arm |
$27.54
|
|
|
usually ships 11-15 days |
031 |
999-0510
|
Screw 1/4-20 x 1 pan head phillips zinc plated |
$0.99
|
|
|
ships same day |
032 |
173-2138
|
Frame top gasket (OBSOLETE) |
$57.71
|
|
|
usually ships 1-5 days |