| # | Part | Description | Price | Req | Notes | Availability |
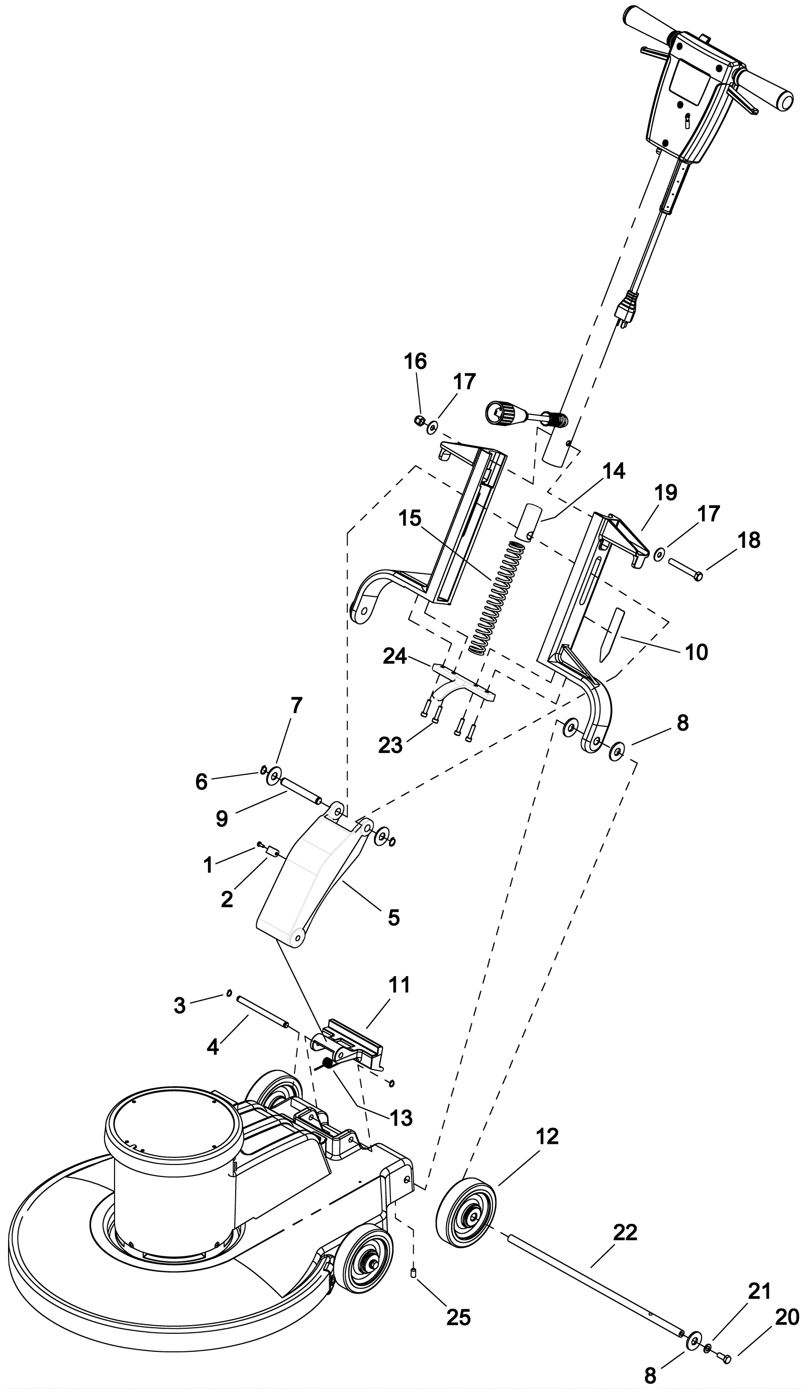
1 |
999-1090
|
Screw M5-.8 x 10mm pan head phillips zinc plated |
$0.99
|
1 |
|
ships same day |
2 |
173-1800
|
5/16 nylon clamp (OBSOLETE) |
$0.99
|
1 |
|
usually ships 11-15 days |
3 |
173-8999
|
External snap ring |
$1.41
|
2 |
|
usually ships 11-15 days |
4 |
173-9003
|
Dowel pin |
$9.82
|
1 |
|
usually ships 1-5 days |
5 |
173-9004
|
Handle link bracket |
$75.92
|
1 |
|
usually ships 1-5 days |
6 |
173-9005
|
External snap ring |
$1.98
|
2 |
|
usually ships 11-15 days |
7 |
999-0972
|
Washer M14 flat |
$3.22
|
2 |
|
usually ships 11-15 days |
8 |
999-0972
|
Washer M14 flat |
$3.22
|
6 |
|
usually ships 11-15 days |
9 |
173-9006
|
Linkage spacer |
$14.83
|
1 |
|
usually ships 11-15 days |
10 |
173-7438
|
Handle release decal (OBSOLETE) |
Call for price
|
1 |
|
usually ships 1-5 days |
11 |
173-9007
|
Handle latch (OBSOLETE) |
$49.28
|
1 |
|
usually ships 11-15 days |
12 |
173-4664
|
Wheel (gray) |
$40.02
|
2 |
|
usually ships 11-15 days |
13 |
173-9008
|
Torsion spring |
$15.53
|
1 |
|
usually ships 11-15 days |
14 |
173-9009
|
Compression spring block |
$22.72
|
1 |
|
usually ships 1-5 days |
15 |
173-9010
|
Compression spring |
$38.14
|
1 |
|
usually ships 1-5 days |
16 |
173-3869
|
Nut 3/8-16 hex nylock (OBSOLETE) |
$1.03
|
1 |
|
usually ships 11-15 days |
17 |
999-0032
|
Washer 3/8 USS flat plain finish |
$2.42
|
2 |
|
ships same day |
18 |
173-9011
|
Screw 3/8-16 x 3 hex head cap screw |
$4.88
|
1 |
|
usually ships 1-5 days |
19 |
173-9012
|
Handle mount bracket |
$243.64
|
2 |
|
usually ships 11-15 days |
20 |
999-9092
|
Screw M8-1.25 x 20mm hex head stainless steel |
$2.79
|
2 |
|
ships same day |
21 |
999-1267
|
Washer M8 flat zinc |
$0.99
|
2 |
|
ships same day |
22 |
173-9013
|
Rear axle |
$46.85
|
1 |
|
usually ships 11-15 days |
23 |
173-9014
|
Screw M6 x 30 cap plated |
$6.24
|
4 |
|
usually ships 11-15 days |
24 |
173-9015
|
Latch striker |
$40.84
|
1 |
|
usually ships 11-15 days |
25 |
999-1339
|
Screw M8-1.25 x 8mm set cup point |
$0.99
|
2 |
|
ships same day |