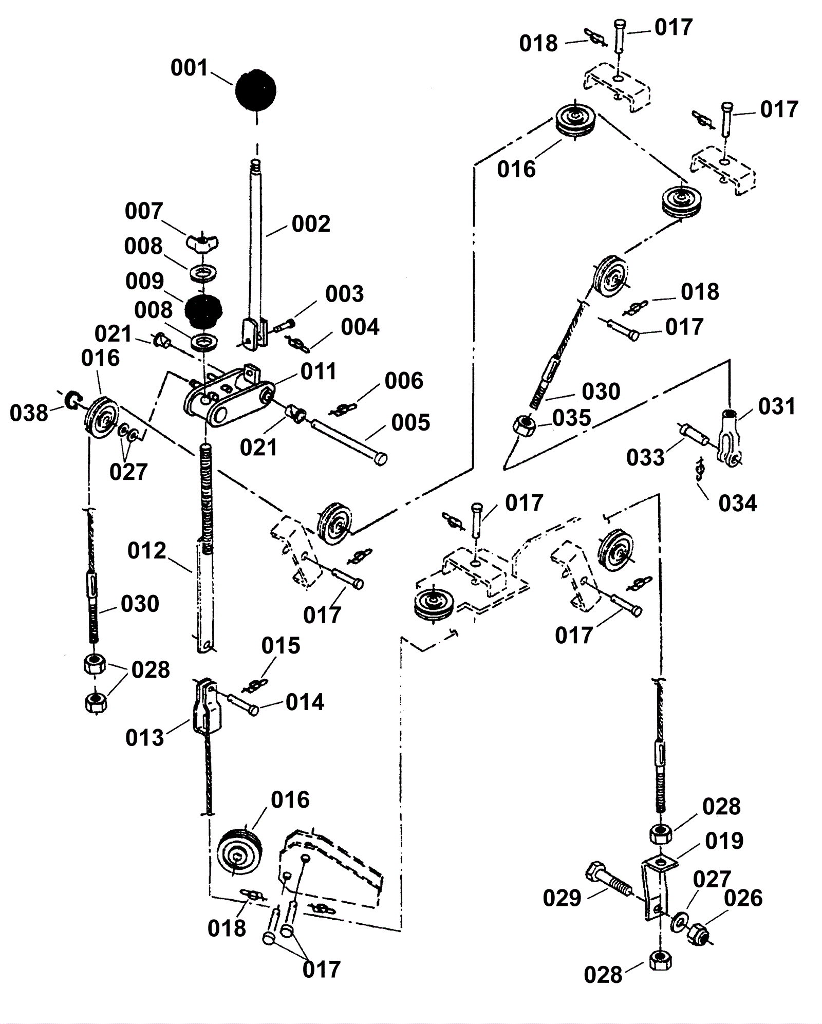
Main Broom Lift Assembly
Click to enlarge