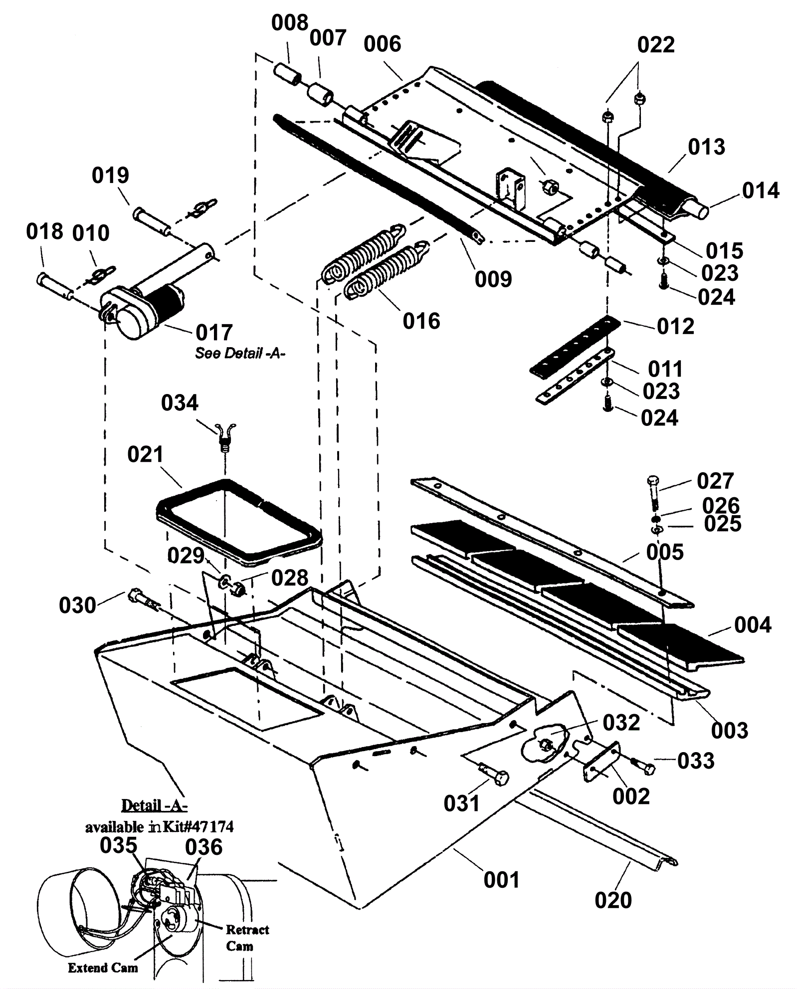
Hopper Assembly
Click to enlarge