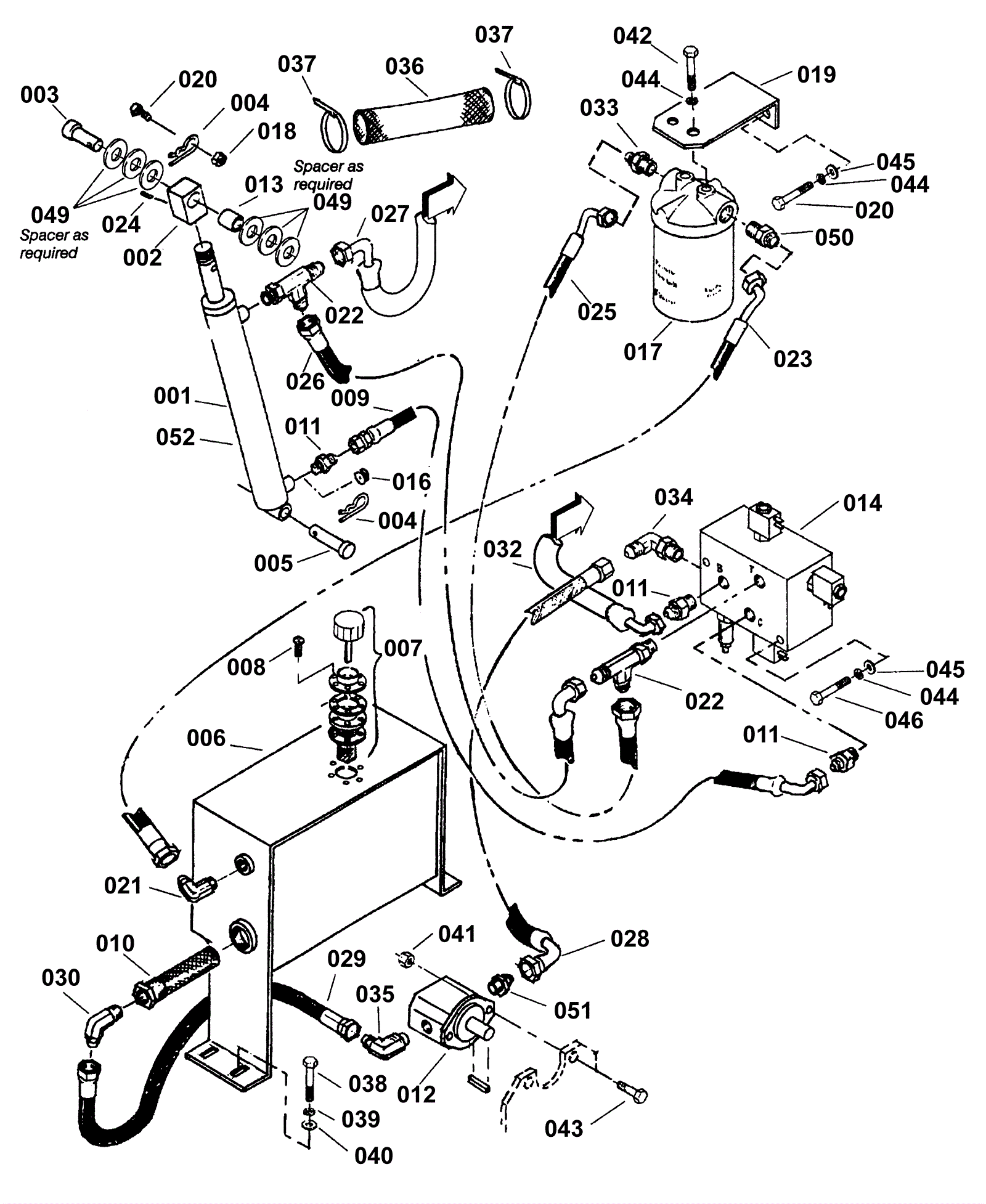
Hydraulic Assembly
Click to enlarge