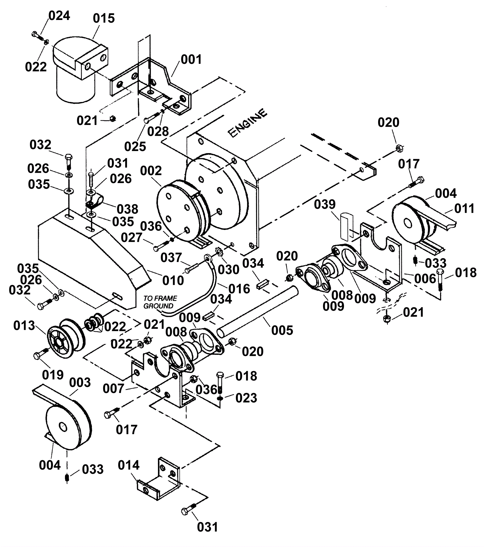
Diesel Engine Assembly 2
Click to enlarge