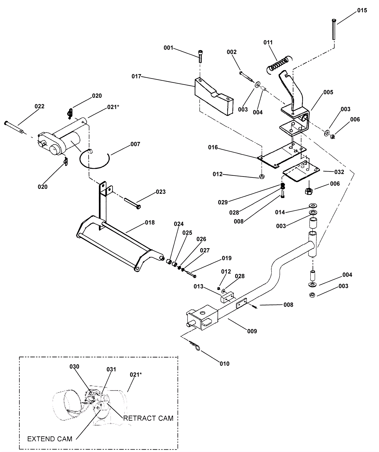
Squeegee Lift Assembly
Click to enlarge