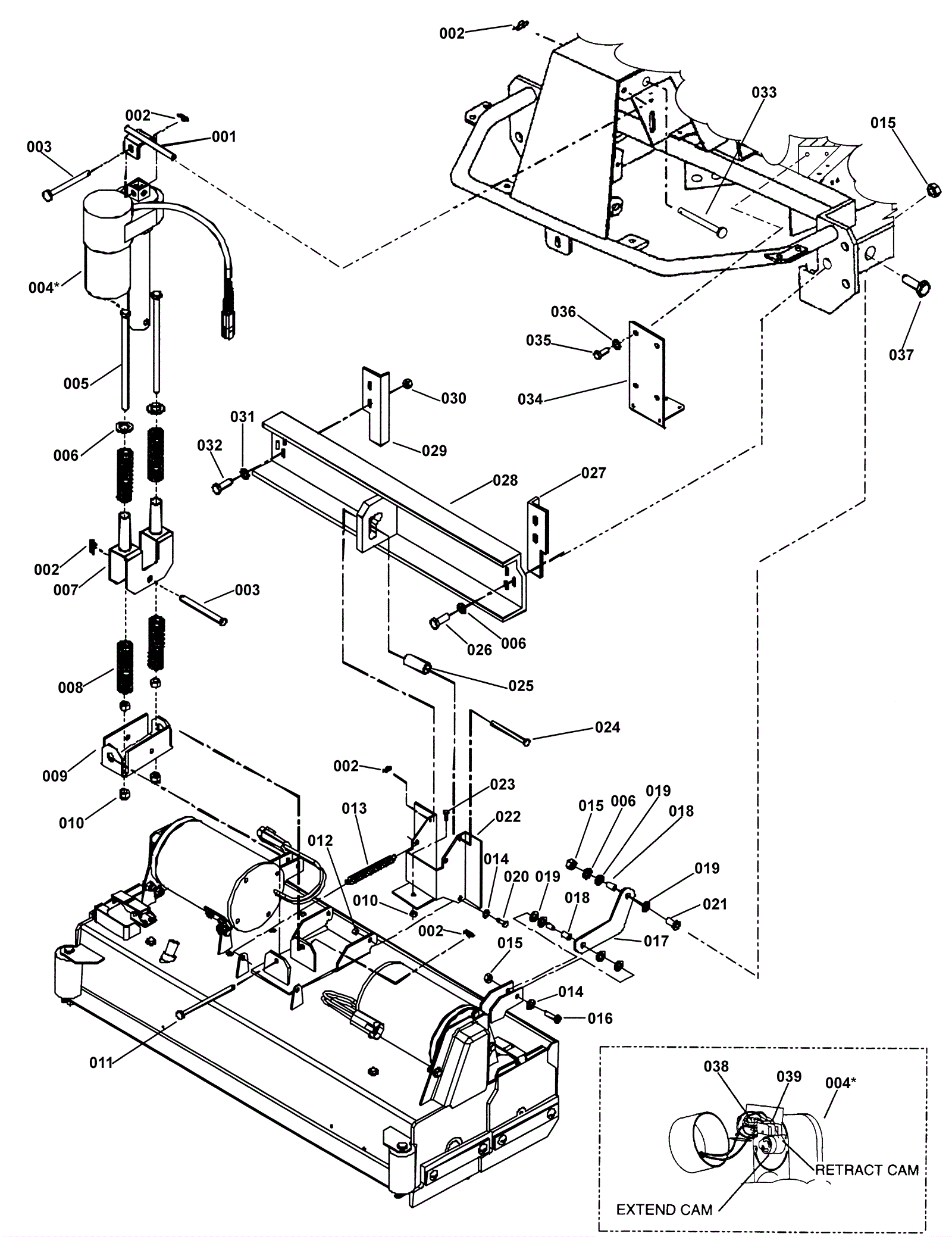
Cylindrical Scrub Head Lift Assembly
Click to enlarge