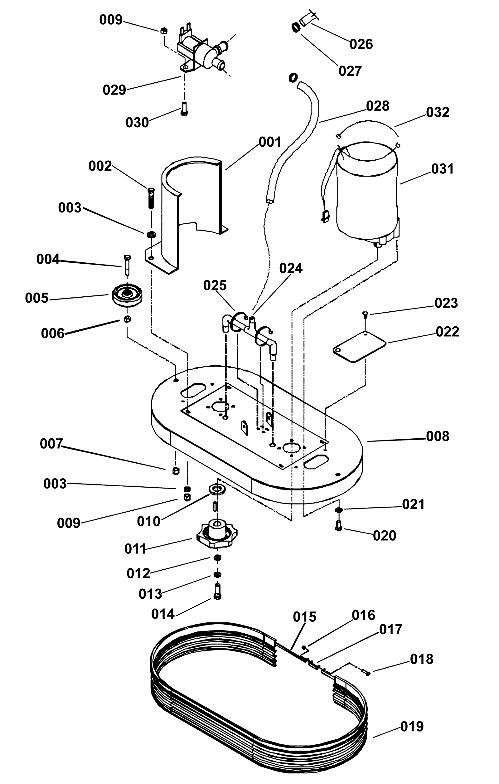
Disk Scrub Head Assembly
Click to enlarge