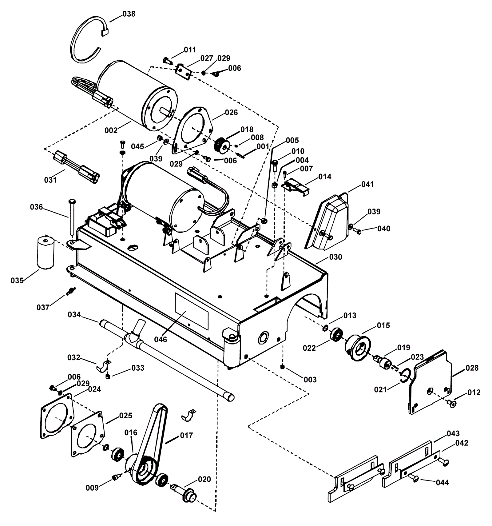
Cylindrical Scrub Head Assembly
Click to enlarge