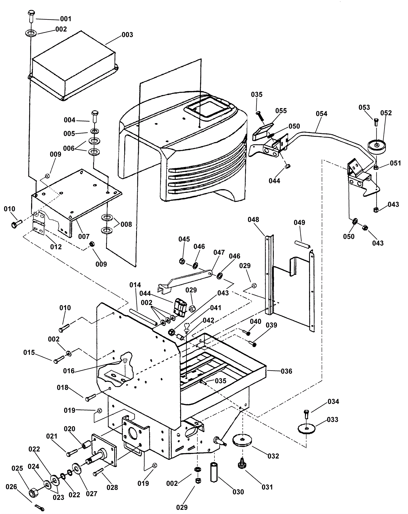
Rear Frame Assembly
Click to enlarge