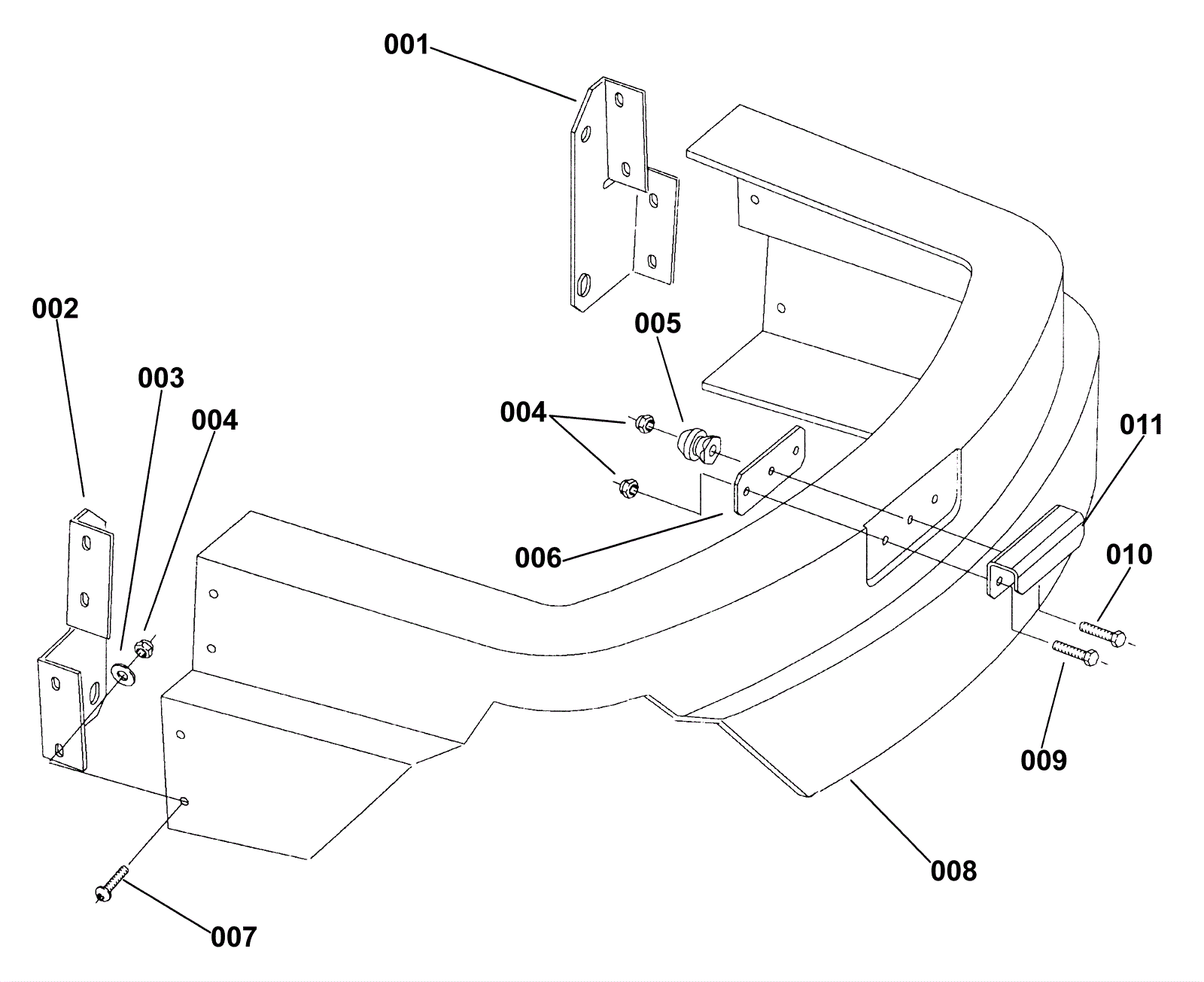
Front Bumper Cylindrical Assembly
Click to enlarge