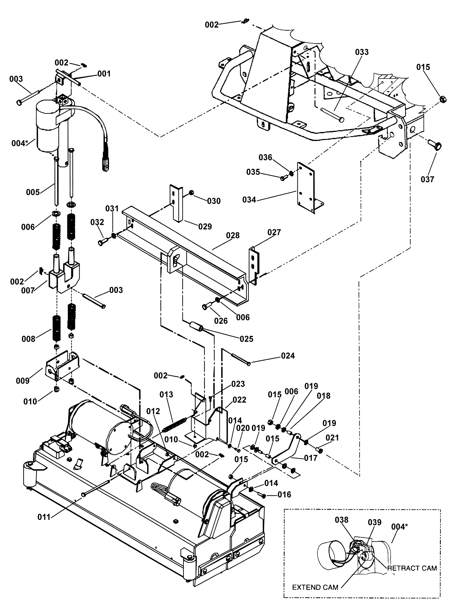
| # | Part | Description | Price | Req | Notes | Availability |
001 |
173-3520
|
Actuator pivot |
$80.30
|
1 |
|
usually ships 1-5 days |
002 |
173-1593
|
Cotter ring (OBSOLETE) |
$0.99
|
7 |
|
usually ships 11-15 days |
003 |
173-1595
|
Clevis pin (OBSOLETE) |
$4.88
|
2 |
|
usually ships 10-13 days |
004 |
273-4033
|
36V actuator |
$902.76
|
1 |
|
usually ships 11-15 days |
005 |
173-3957
|
Screw 3/8-16 x 6 hex head |
$3.63
|
2 |
|
usually ships 1-5 days |
006 |
999-0033
|
Washer 7/16 SAE flat |
$0.99
|
2 |
|
ships same day |
007 |
173-8739
|
Spring retainer (OBSOLETE) |
$66.04
|
1 |
|
usually ships 1-5 days |
008 |
173-2637
|
Compression spring 97/100 OD X 635 L X 3/25 W |
$10.60
|
4 |
|
usually ships 1-5 days |
009 |
173-3525
|
Pivot channel |
$103.95
|
1 |
|
usually ships 1-5 days |
010 |
999-0170
|
Nut 3/8-16 hex plain finish |
$0.99
|
2 |
|
ships same day |
011 |
173-1596
|
Clevis pin |
$20.96
|
1 |
|
usually ships 11-15 days |
012 |
173-5058
|
Nut 1/2-13 elastic stop |
$2.97
|
2 |
|
usually ships 1-5 days |
013 |
173-3432
|
Extension spring |
$9.96
|
2 |
|
usually ships 1-5 days |
014 |
173-3974
|
Washer 53/100 ID X 1 OD X 3/50 |
$2.44
|
2 |
|
usually ships 1-5 days |
015 |
173-3869
|
Nut 3/8-16 hex nylock (OBSOLETE) |
$1.03
|
4 |
|
usually ships 11-15 days |
016 |
173-0503
|
Screw 3/8-16 x 1-3/4 hex head cap screw |
$2.40
|
2 |
|
usually ships 1-5 days |
017 |
173-3528
|
Lift arm (OBSOLETE) |
$86.24
|
2 |
|
usually ships 1-5 days |
018 |
173-3382
|
Fiber bearing |
$5.39
|
4 |
|
usually ships 1-5 days |
019 |
173-3995
|
Washer 1/2 Fiber Glide |
$20.79
|
4 |
|
usually ships 1-5 days |
020 |
999-0200
|
Bolt 1/2-13 x 1 1/4 hex head |
$3.45
|
2 |
|
ships same day |
021 |
173-3527
|
Rear upper slide pivot |
$12.32
|
2 |
|
usually ships 1-5 days |
022 |
173-3523
|
Adjustment channel (OBSOLETE) |
$61.48
|
1 |
|
usually ships 1-5 days |
023 |
173-5035
|
Screw 3/8-16 x 2 button head cap |
$13.60
|
1 |
|
usually ships 1-5 days |
024 |
173-1662
|
Clevis pin 1/2 X 4 4/5 |
$20.39
|
1 |
|
usually ships 1-5 days |
025 |
173-3521
|
Top roller |
$51.80
|
1 |
|
usually ships 1-5 days |
026 |
999-0039
|
Bolt 3/8-16 x 1 1/4 hex head grade 5 zinc plated |
$0.99
|
2 |
|
ships same day |
027 |
173-3519
|
Stop left angle (OBSOLETE) |
$42.49
|
1 |
|
usually ships 1-5 days |
028 |
173-3517
|
Upper slide (OBSOLETE) |
$278.58
|
1 |
|
usually ships 1-5 days |
029 |
173-3518
|
Stop right angle (OBSOLETE) |
$35.42
|
1 |
|
usually ships 1-5 days |
030 |
999-0211
|
Nut 5/16-18 hex nylon insert lock zinc plated |
$0.99
|
4 |
|
ships same day |
031 |
173-3912
|
Washer .344 x .066 flat head (OBSOLETE) |
$0.99
|
4 |
|
usually ships 11-15 days |
033 |
173-3157
|
Clevis pin |
$18.48
|
1 |
|
usually ships 11-15 days |
034 |
173-3561
|
Valve mount angle |
$85.25
|
1 |
|
usually ships 1-5 days |
035 |
999-0038
|
Bolt 3/8-16 x 1 hex head grade 5 zinc plated |
$1.87
|
4 |
|
ships same day |
036 |
999-0034
|
Washer 3/8 split lock plain finish |
$1.82
|
4 |
|
ships same day |
037 |
999-1052
|
Bolt 5/16-18 x 3/4 hex head grade 5 zinc plated |
$0.99
|
2 |
|
ships same day |
038 |
173-3462
|
Assembly fasco actuator diode |
$68.86
|
1 |
|
usually ships 1-5 days |
039 |
173-3463
|
Travel limit switch |
$55.20
|
1 |
|
usually ships 1-5 days |