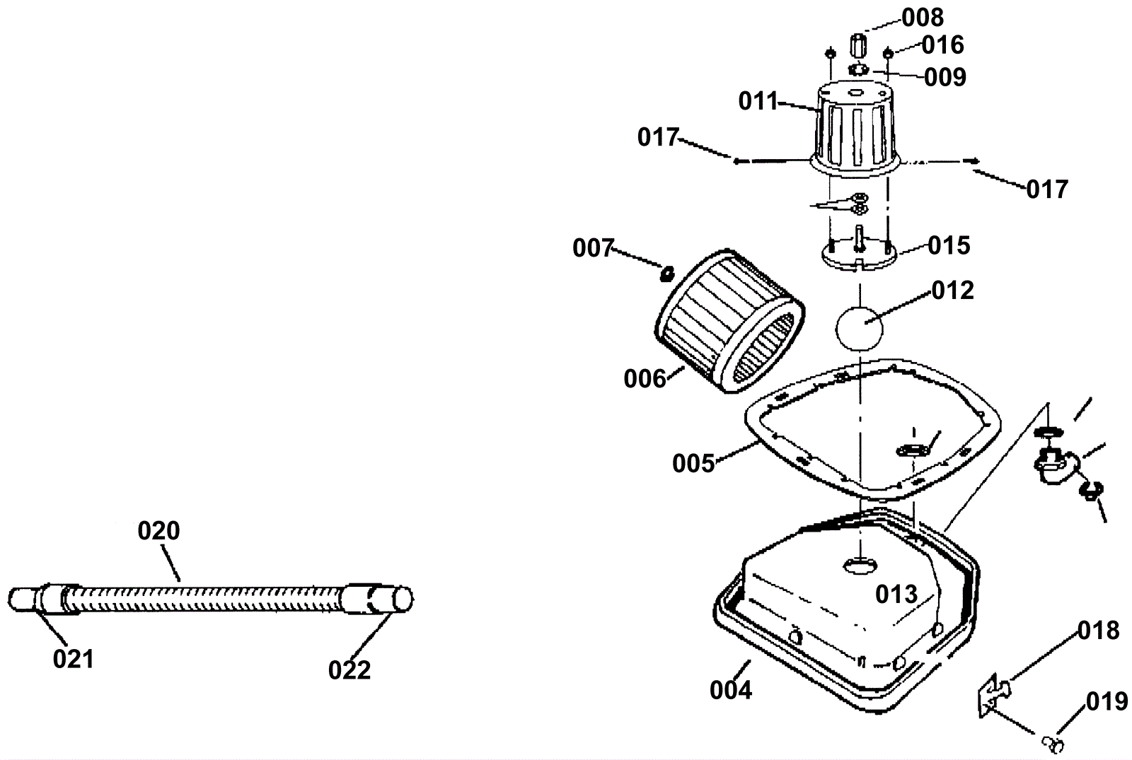
Lower Head Assembly
Click to enlarge