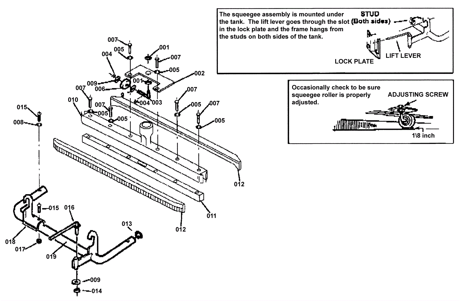
Squeegee Assembly
Click to enlarge
#
Part
Description
Price
Req
Notes
Availability
012
173-0225
Squeegee blade 27 inch maize (OBSOLETE)
$66.36
2
usually ships 1-5 days