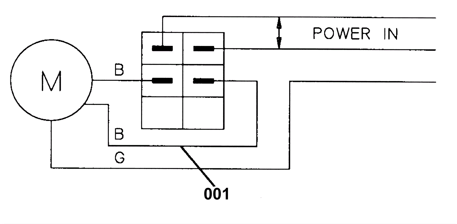
240V Wiring Diagram
Click to enlarge
#
Part
Description
Price
Req
Notes
Availability
001
173-0295
Vacuum Motor Extension Wire
$4.18
usually ships 1-5 days