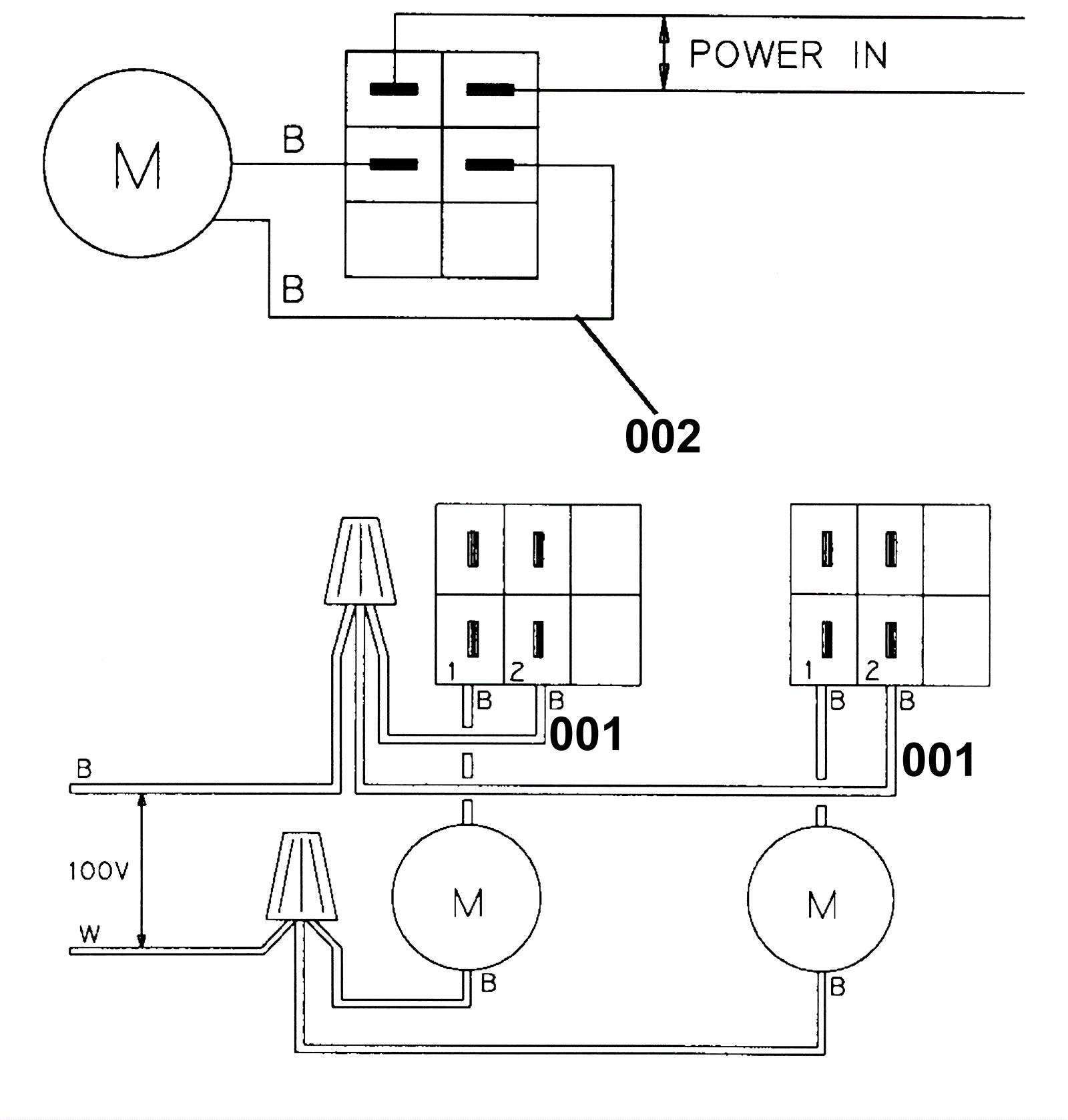
100V Wiring Diagram
Click to enlarge
#
Part
Description
Price
Req
Notes
Availability
001
173-0294
14 inch wire (OBSOLETE)
$19.21
usually ships 1-5 days
002
173-0295
Vacuum Motor Extension Wire
$4.18
usually ships 1-5 days