| # | Part | Description | Price | Req | Notes | Availability |
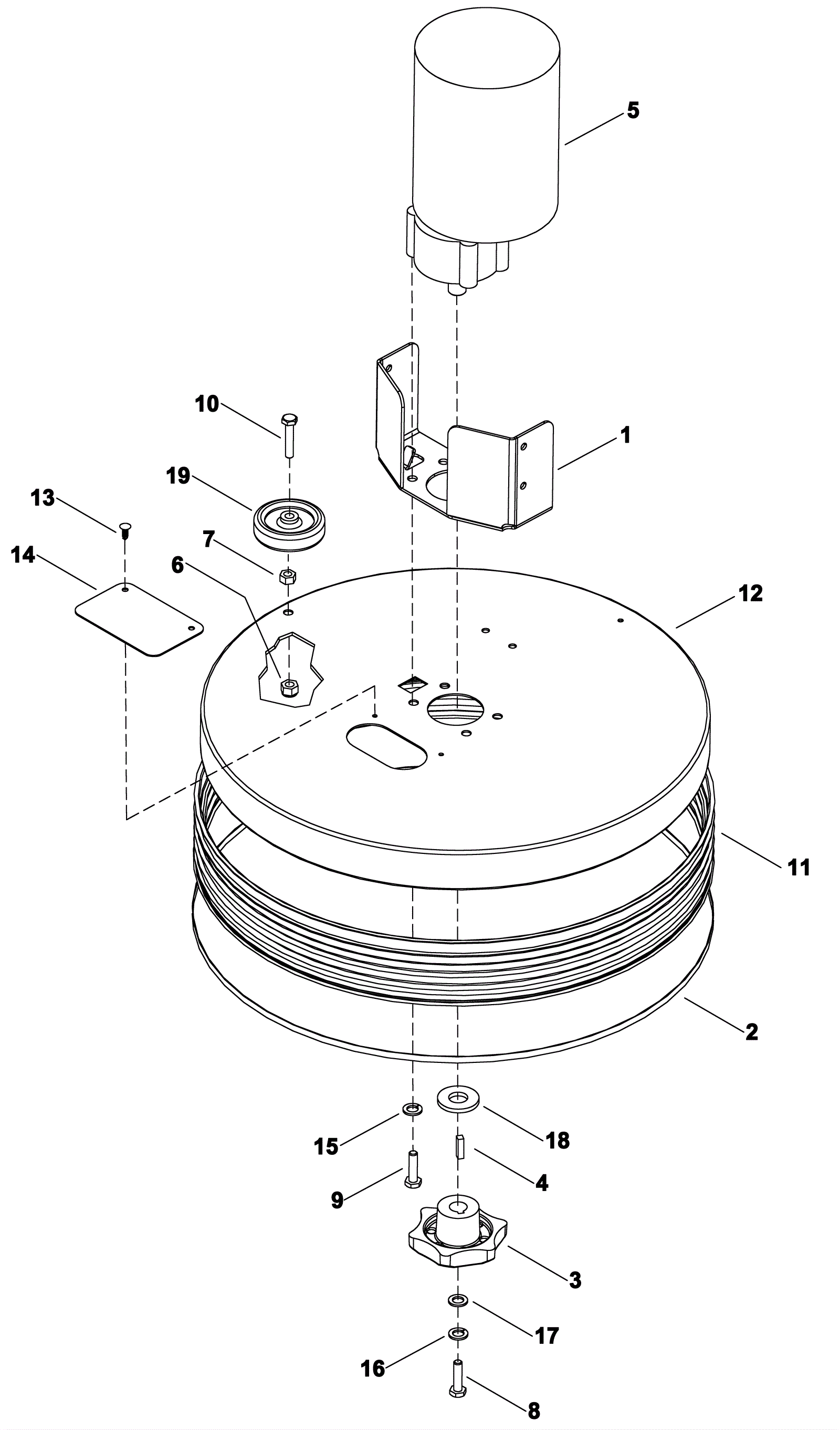
1 |
173-3177
|
Deck mounting bracket |
$77.00
|
1 |
|
usually ships 11-15 days |
2 |
173-1568
|
Worm clamp |
$69.44
|
1 |
|
ships same day |
3 |
173-1569
|
Star drive hub |
$121.23
|
1 |
|
usually ships 11-15 days |
4 |
189-0323
|
Square keyway |
$35.72
|
1 |
|
ships same day |
5a |
173-1574
|
24V 1HP brush motor assembly |
$501.50
|
1 |
|
usually ships 1-5 days |
5b |
173-1575
|
Carbon brush set |
$176.00
|
1 |
|
usually ships 1-5 days |
6 |
999-0513
|
Nut 3/8-16 nylon insert lock type NE stainless steel |
$3.96
|
1 |
|
ships same day |
7 |
999-0170
|
Nut 3/8-16 hex plain finish |
$0.99
|
1 |
|
ships same day |
8 |
999-0688
|
Bolt 5/16-18 x 1 1/4 hex head stainless steel |
$0.99
|
1 |
|
ships same day |
9 |
999-0038
|
Bolt 3/8-16 x 1 hex head grade 5 zinc plated |
$1.87
|
4 |
|
ships same day |
10 |
173-3937
|
Bolt 3/8-16 x 2 hex head |
$1.98
|
1 |
|
usually ships 11-15 days |
11 |
173-1027
|
Skirt |
$71.21
|
1 |
|
usually ships 11-15 days |
12 |
173-0411
|
20 inch scrub deck shroud |
$301.31
|
1 |
|
ships same day |
13 |
173-1577
|
Tree clip |
$6.01
|
2 |
|
usually ships 11-15 days |
14 |
173-3178
|
Brush release cover |
$35.19
|
1 |
|
usually ships 11-15 days |
15 |
999-0617
|
Washer 3/8 x 1 flat stainless steel |
$1.82
|
4 |
|
ships same day |
16 |
999-0028
|
Washer 5/16 split lock plain finish |
$0.99
|
1 |
|
ships same day |
17 |
999-1364
|
Washer 5/16 x 1 fender zinc finish |
$0.99
|
1 |
|
ships same day |
18 |
173-3924
|
Washer .78 x .25 |
$22.84
|
1 |
|
usually ships 11-15 days |
19 |
189-0326
|
Bumper wheel |
$29.04
|
1 |
|
usually ships 12-17 days |
N/S |
189-0021
|
Hex drive hub (OBSOLETE) |
$115.50
|
|
OLD STYLE |
usually ships 11-15 days |