CHARIOT IGLOSS 20
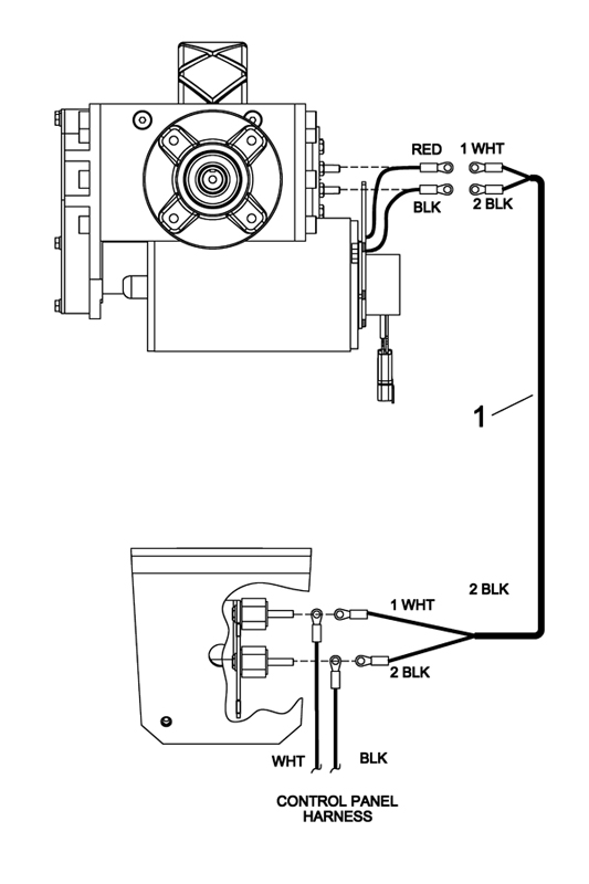
Drive Motor Wiring Diagram
Click to enlarge
#
Part
Description
Price
Req
Notes
Availability
1
173-5606
Propel harness
$234.22
1
usually ships 11-15 days