# | Part | Description | Price | Req | Notes | Availability |
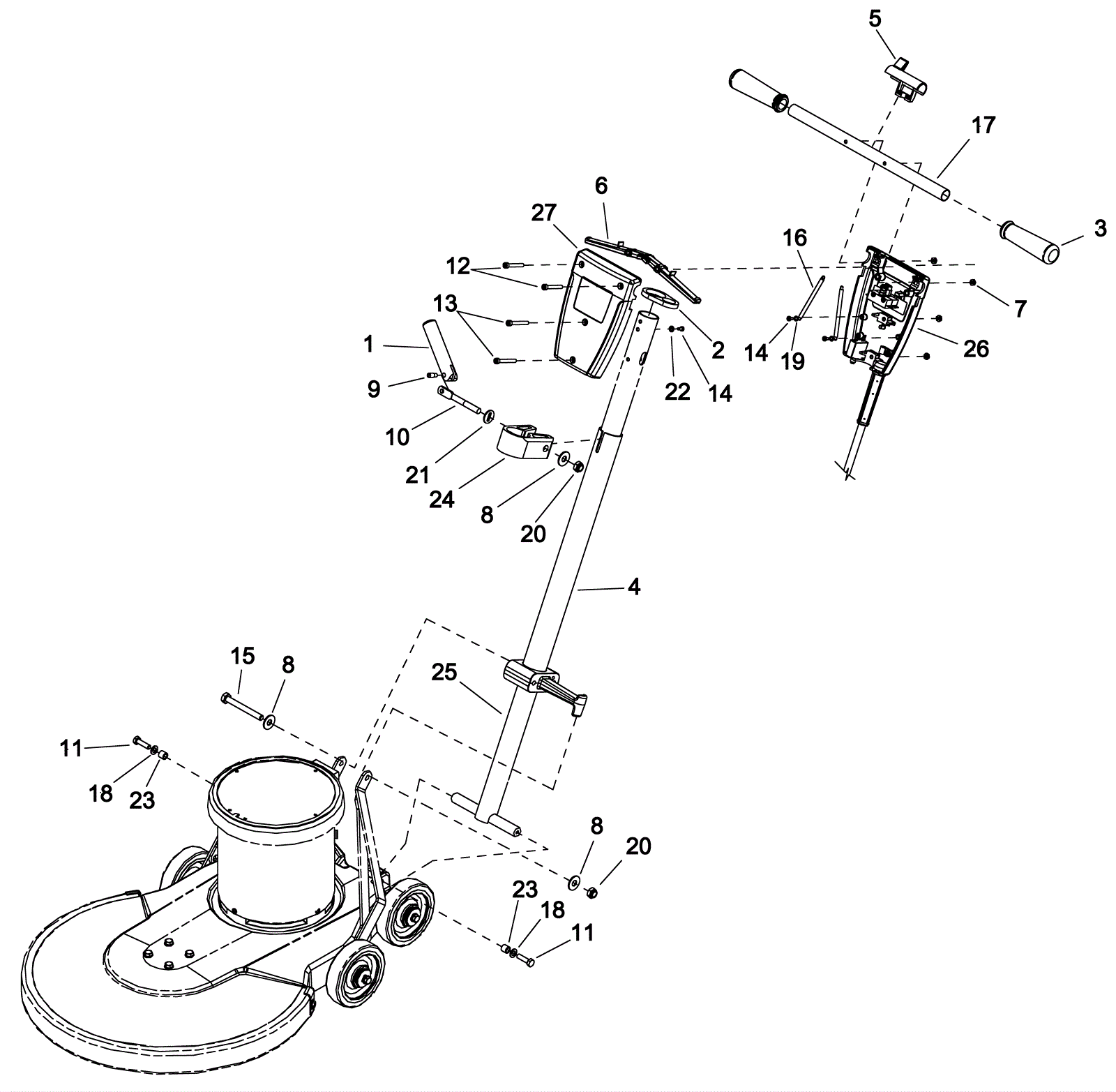
1 |
173-4685
|
Handle adjustment bar |
$64.15
|
1 |
|
usually ships 11-15 days |
2 |
173-4702
|
Handle bumper |
$5.50
|
1 |
|
usually ships 1-5 days |
3 |
173-0371
|
Handle grip |
$13.42
|
2 |
|
usually ships 11-15 days |
5 |
173-4689
|
Safety handle lock |
$21.78
|
1 |
|
usually ships 11-15 days |
6 |
173-4690
|
Switch lever |
$20.96
|
2 |
|
ships same day |
7 |
999-0950
|
Nut M6-1 hex aluminum |
$1.32
|
4 |
|
ships same day |
8 |
173-2548
|
Washer M10 x 30mm plated |
$4.30
|
2 |
|
usually ships 11-15 days |
9 |
173-4693
|
Pivot pin |
$5.08
|
1 |
|
usually ships 11-15 days |
10 |
173-4694
|
Handle adjustment rod |
$5.50
|
1 |
|
usually ships 11-15 days |
11 |
999-0785
|
Screw M8-1.25 x 30mm hex head stainless steel |
$2.24
|
2 |
|
ships same day |
12 |
999-1336
|
Screw M6-1 x 45mm socket head |
$0.99
|
2 |
|
ships same day |
13 |
999-1337
|
Screw M6 x 50mm socket head |
$0.99
|
2 |
|
ships same day |
14 |
173-4697
|
Screw M4-.8 x 10mm hex head thread forming |
$2.33
|
4 |
|
ships same day |
15 |
999-1408
|
Screw M10-1.5 x 90mm hex head stainless steel |
$4.29
|
1 |
|
ships same day |
16 |
173-4699
|
Spring |
$19.06
|
2 |
|
usually ships 11-15 days |
17 |
173-4700
|
Handle grip tube |
$39.67
|
1 |
|
usually ships 11-15 days |
18 |
999-1267
|
Washer M8 flat zinc |
$0.99
|
2 |
|
ships same day |
19 |
173-7429
|
Washer M4 flat |
$1.06
|
2 |
|
usually ships 1-5 days |
20 |
999-1120
|
Nut M10-1.5 nylon insert lock stainless steel |
$3.92
|
3 |
|
ships same day |
21 |
173-4701
|
Bearing washer (OBSOLETE) |
$2.12
|
1 |
|
usually ships 11-15 days |
22 |
173-4706
|
Washer M5 shakeproof |
$1.39
|
2 |
|
usually ships 11-15 days |
23 |
173-4095
|
Spacer (OBSOLETE) |
$0.99
|
2 |
|
usually ships 11-15 days |
24 |
173-7430
|
Handle clamp |
$95.34
|
1 |
|
usually ships 11-15 days |
25 |
173-4764
|
Burnisher extended handle |
$184.79
|
1 |
|
usually ships 1-5 days |
26 |
173-7431
|
Rear handle housing |
$29.76
|
1 |
|
usually ships 1-5 days |
27 |
173-7432
|
Front handle housing |
$69.44
|
1 |
|
usually ships 1-5 days |