MERIT 2000 MB2000
Motor Group
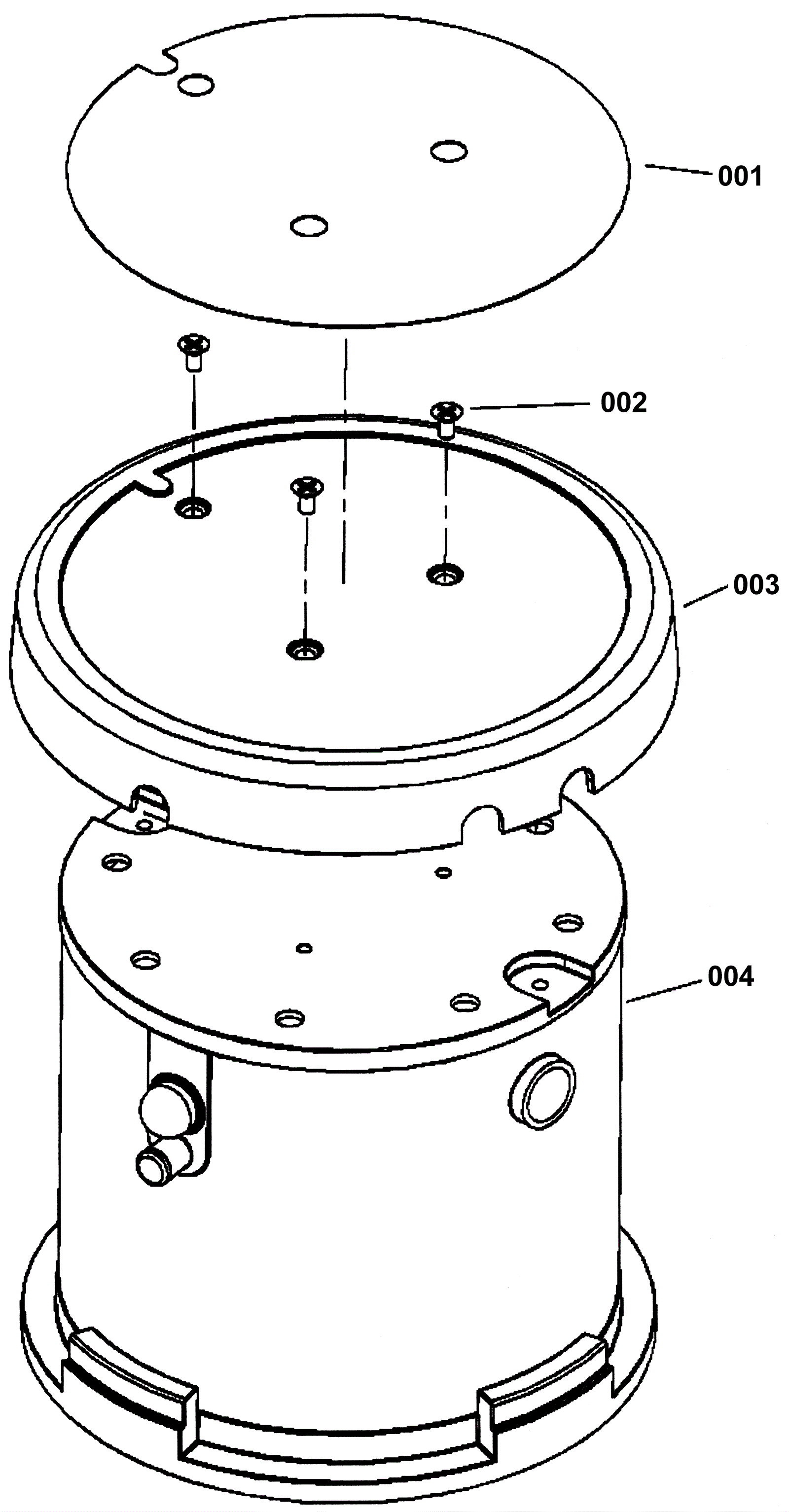
Click to enlarge
#
Part
Description
Price
Req
Notes
Availability
0.9835
173-4157
115V 1.5HP motor 2000RPM
$778.00
usually ships 11-15 days