| # | Part | Description | Price | Req | Notes | Availability |
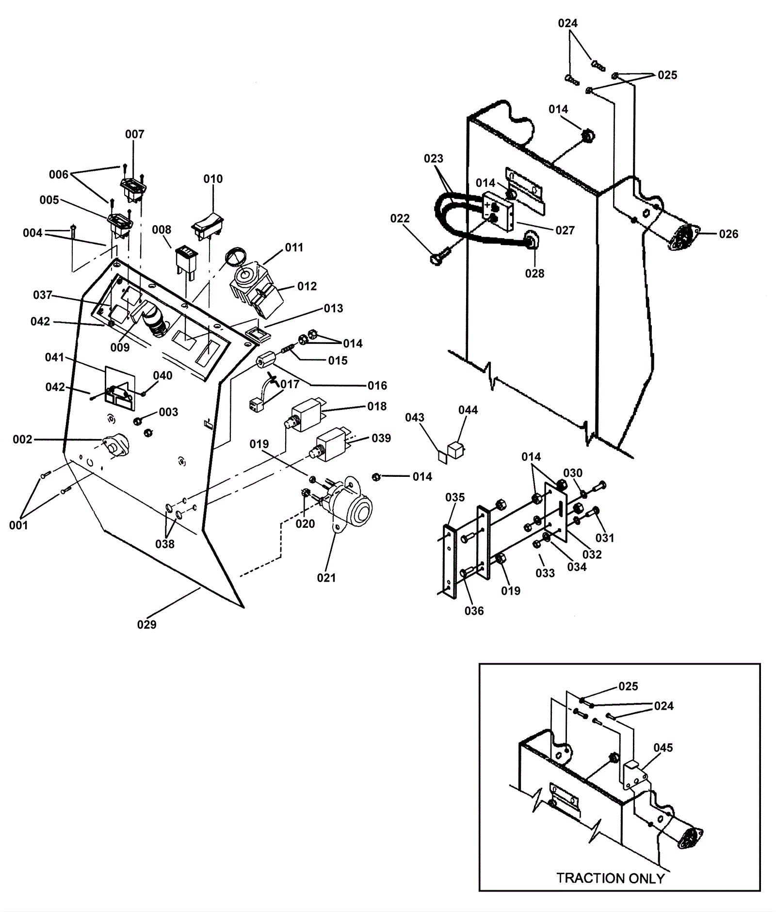
001 |
999-0697
|
Screw 8-32 x 3/4 pan head phillips stainless steel |
$0.99
|
2 |
|
ships same day |
002 |
173-0443
|
60 amp circuit breaker (OBSOLETE) |
$231.00
|
1 |
|
usually ships 11-15 days |
003 |
999-0151
|
Nut 8-32 nylon insert lock zinc plated |
$1.10
|
2 |
|
ships same day |
004 |
173-2566
|
Screw #10 x 1/2 pan head |
$1.20
|
8 |
|
ships same day |
005 |
173-1900
|
DC hour meter |
$150.70
|
1 |
|
usually ships 1-5 days |
006 |
173-5025
|
Screw 6-32 x 1/2 zinc truss head |
$0.99
|
4 |
|
usually ships 1-5 days |
007 |
173-1159
|
36V battery charge meter |
$253.06
|
1 |
|
usually ships 11-15 days |
008 |
173-0445
|
0-70 amp meter |
$175.37
|
1 |
|
usually ships 1-5 days |
009a |
173-1906
|
Main rotary key switch |
$47.63
|
1 |
|
usually ships 1-5 days |
009b |
173-1906
|
Main rotary key switch |
$47.63
|
1 |
|
usually ships 1-5 days |
010 |
173-2277
|
2 position rocker switch |
$29.30
|
1 |
|
usually ships 11-15 days |
011 |
173-3500
|
contract block clip switch (OBSOLETE) |
$9.32
|
1 |
|
usually ships 11-15 days |
012 |
173-3501
|
contact module N.O switch |
$53.64
|
1 |
|
usually ships 1-5 days |
013 |
173-1164
|
Meter retaining plate |
$4.81
|
1 |
|
usually ships 1-5 days |
014 |
999-1466
|
Nut 1/4-20 lock with external toothed lockwasher SS |
$0.99
|
12 |
|
ships same day |
015 |
999-0096
|
Screw 1/4-20 x 1/4 cup point socket set plain finish |
$0.99
|
1 |
|
ships same day |
016 |
173-1145
|
Insulated stand-off |
$22.55
|
1 |
|
usually ships 11-15 days |
017 |
173-4052
|
Connector Molex 6 Pin receptacle |
$5.53
|
1 |
|
usually ships 11-15 days |
018 |
991-1624
|
3amp circuit breaker |
$24.32
|
1 |
|
usually ships 10-11 days |
019 |
173-2472
|
Nut 10-32 with star washer |
$0.99
|
4 |
|
usually ships 1-5 days |
021 |
991-1227
|
36V solenoid 4 post (2 large 2 small) |
$102.54
|
1 |
|
ships same day |
022 |
999-0384
|
Screw 1/4-20 x 1 1/2 button head socket cap plain finish |
$0.99
|
2 |
|
ships same day |
023 |
173-0447
|
Wire |
$68.71
|
2 |
|
usually ships 1-5 days |
024 |
999-1060
|
Screw 10-32 x 1/4 pan head phillips stainless steel |
$0.99
|
4 |
|
usually ships 1-5 days |
025 |
999-0998
|
Washer #10 flat stainless steel |
$0.99
|
4 |
|
ships same day |
026 |
173-5097
|
Handle adjustment lock |
$103.58
|
2 |
|
usually ships 11-15 days |
027 |
991-2112
|
175amp charger plug with pins (gray) SB175 |
$16.09
|
1 |
|
ships same day |
028 |
173-1891
|
Grommet |
$5.50
|
1 |
|
usually ships 1-5 days |
029 |
173-0448
|
Electric panel |
$166.10
|
1 |
|
usually ships 1-5 days |
030 |
999-0148
|
Washer #6 external star lock zinc plated |
$0.99
|
2 |
|
ships same day |
031 |
999-0147
|
Screw 6-32 x 3/8 round head slotted zinc plated |
$0.99
|
2 |
|
ships same day |
032 |
173-0449
|
70amp 50MV shunt |
$145.95
|
1 |
|
usually ships 1-5 days |
033 |
173-3909
|
Nut 6-32 hex brass |
$0.99
|
2 |
|
usually ships 1-5 days |
034 |
999-0377
|
Washer 6 SAE flat plain finish |
$0.99
|
2 |
|
ships same day |
035 |
173-0451
|
Shunt mounting bracket |
$19.84
|
2 |
|
usually ships 1-5 days |
036 |
999-0326
|
Screw 1/4-20 x 3/4 flat head phillips zinc plated |
$0.99
|
2 |
|
ships same day |
037 |
173-0453
|
Burnisher panel label |
$10.95
|
1 |
|
usually ships 1-5 days |
038 |
173-3896
|
Nut 3/8-27 Panel |
$0.99
|
2 |
|
usually ships 11-15 days |
039 |
189-4092
|
15amp circuit breaker |
$45.55
|
1 |
|
usually ships 11-15 days |
040 |
173-1521
|
Spacer |
$7.59
|
2 |
|
usually ships 1-5 days |
041 |
173-0444
|
36v controller |
$1,111.00
|
1 |
|
usually ships 1-5 days |
042 |
173-2522
|
Nut 6-32 with star washer |
$0.99
|
6 |
|
usually ships 1-5 days |
043 |
N/A
|
Not available |
Call for price
|
1 |
Tape |
usually ships 3-26 days |
044 |
173-0450
|
24V relay |
$56.02
|
1 |
|
usually ships 11-15 days |
045 |
173-0452
|
Handle stop bracket |
$31.24
|
1 |
|
usually ships 1-5 days |
046 |
173-3497
|
Ignition switch key |
$86.52
|
1 |
|
usually ships 11-15 days |