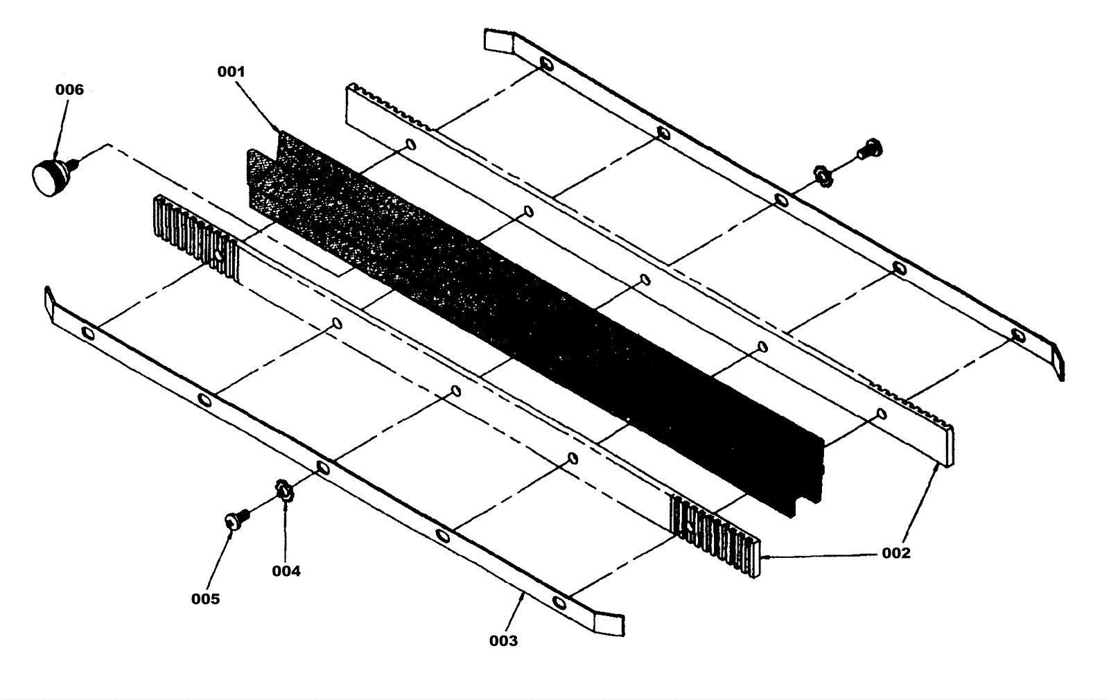
Squeegee Assembly