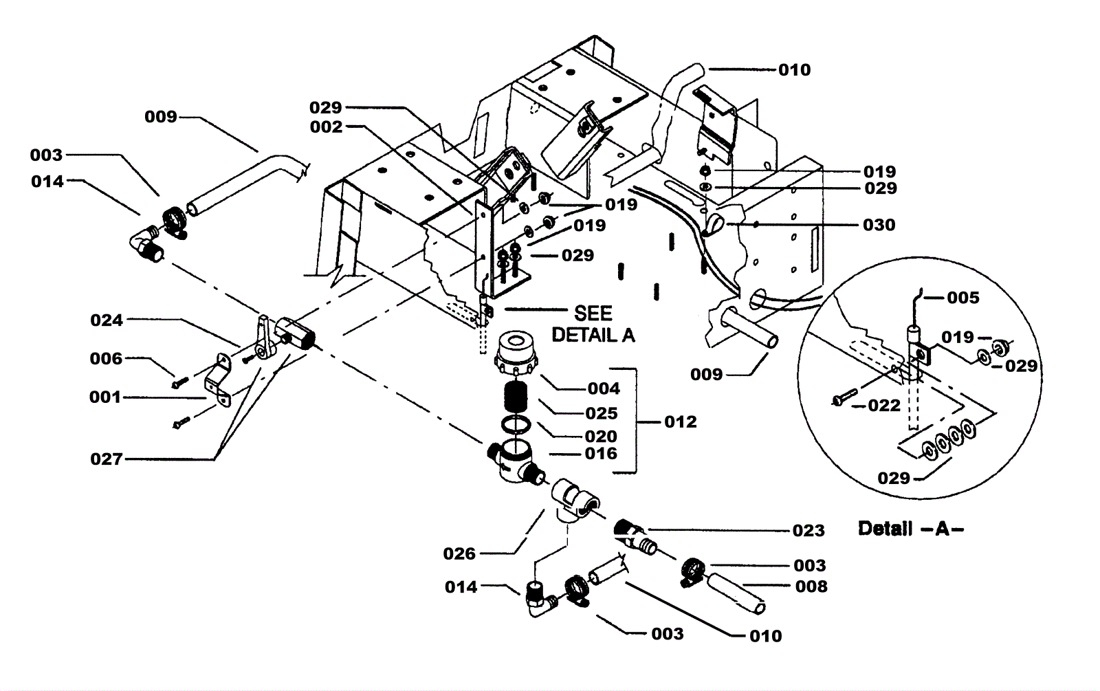
Valve Assembly
Click to enlarge