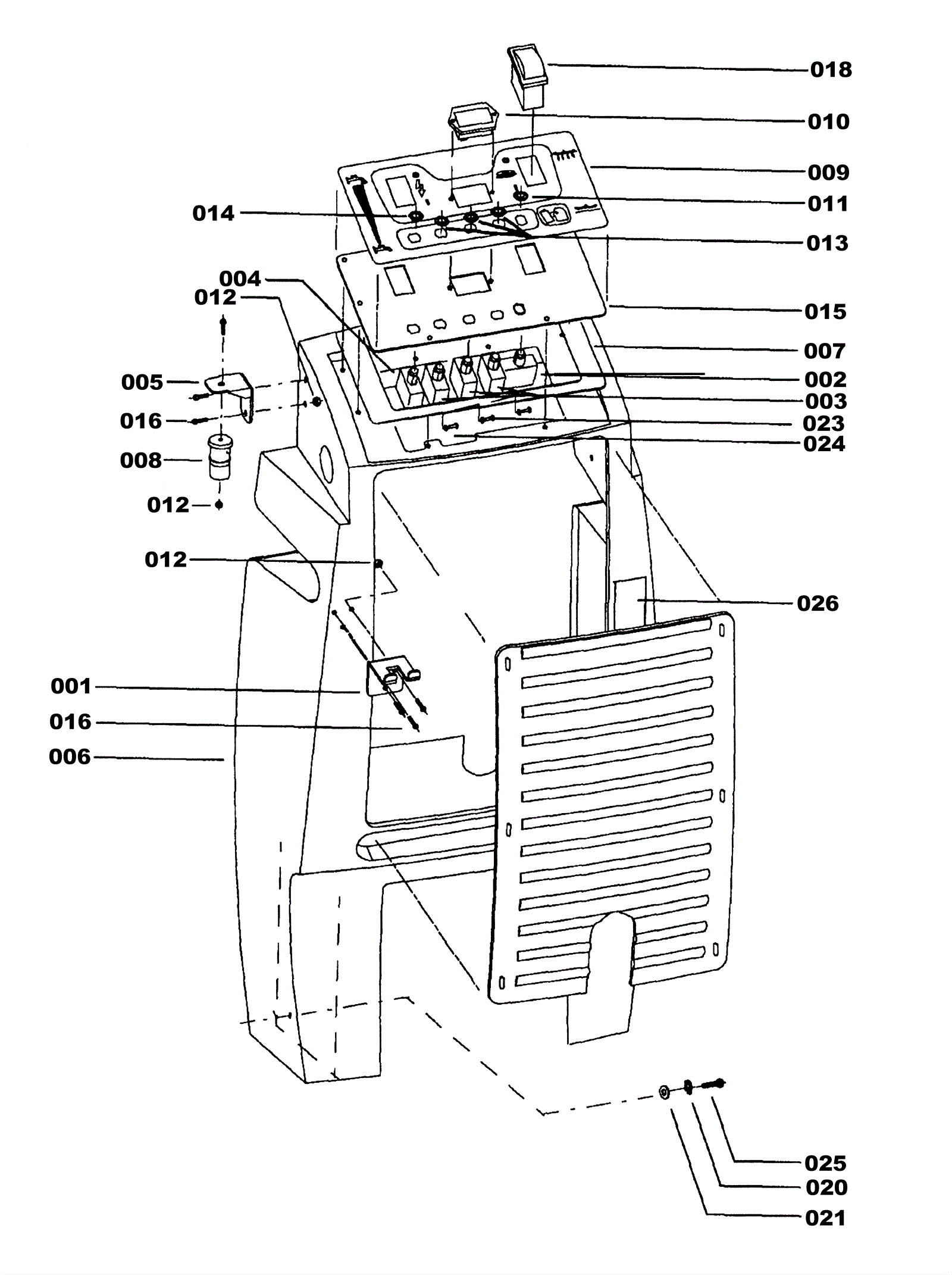
Tower Assembly(Continued)
Click to enlarge