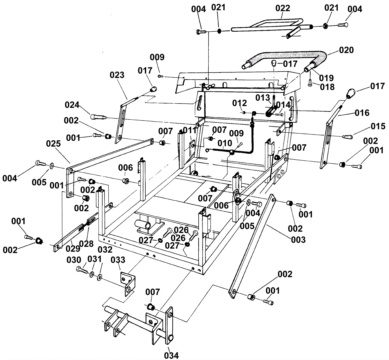
Mechanical Controls
Click to enlarge