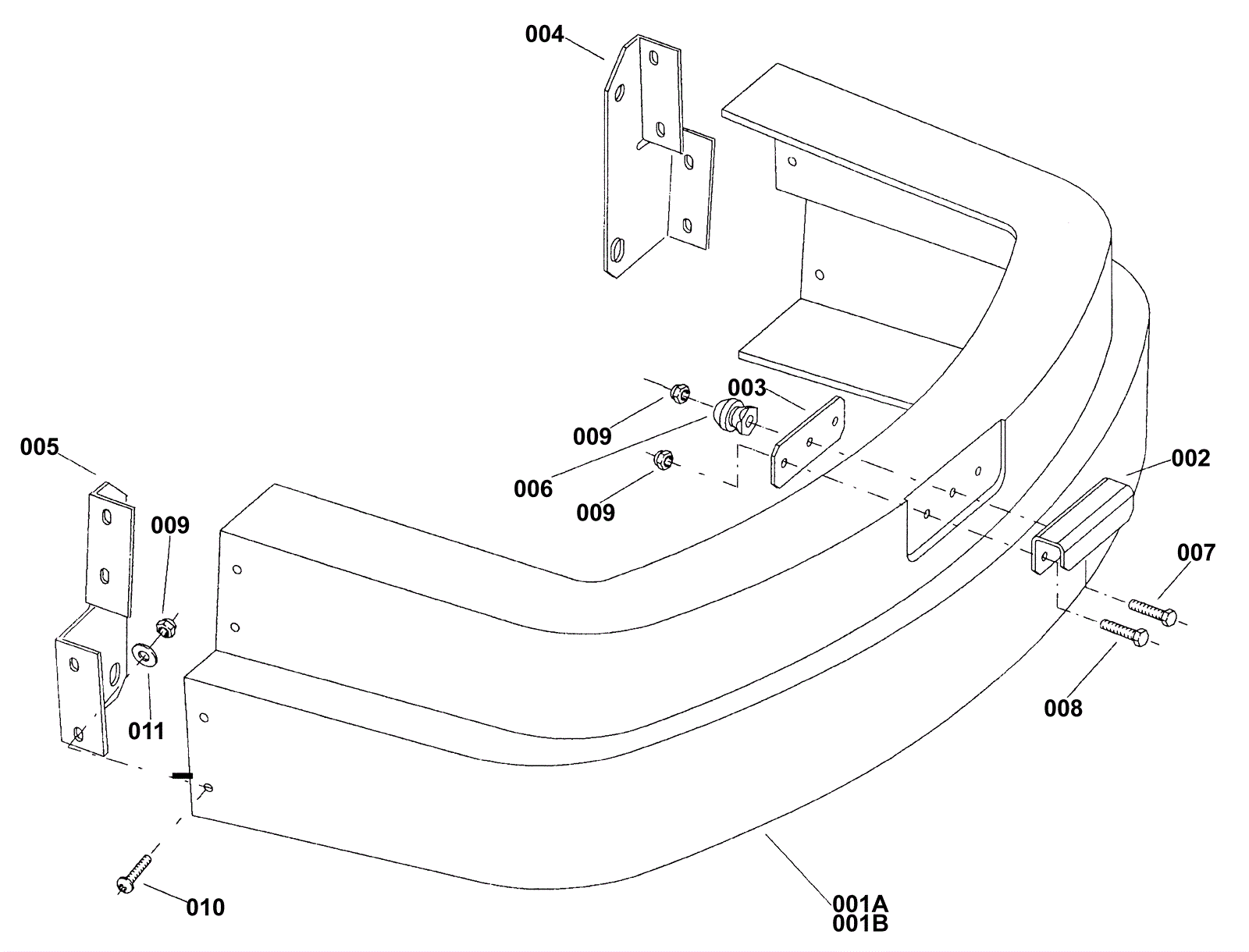
Bumper Assembly
Click to enlarge