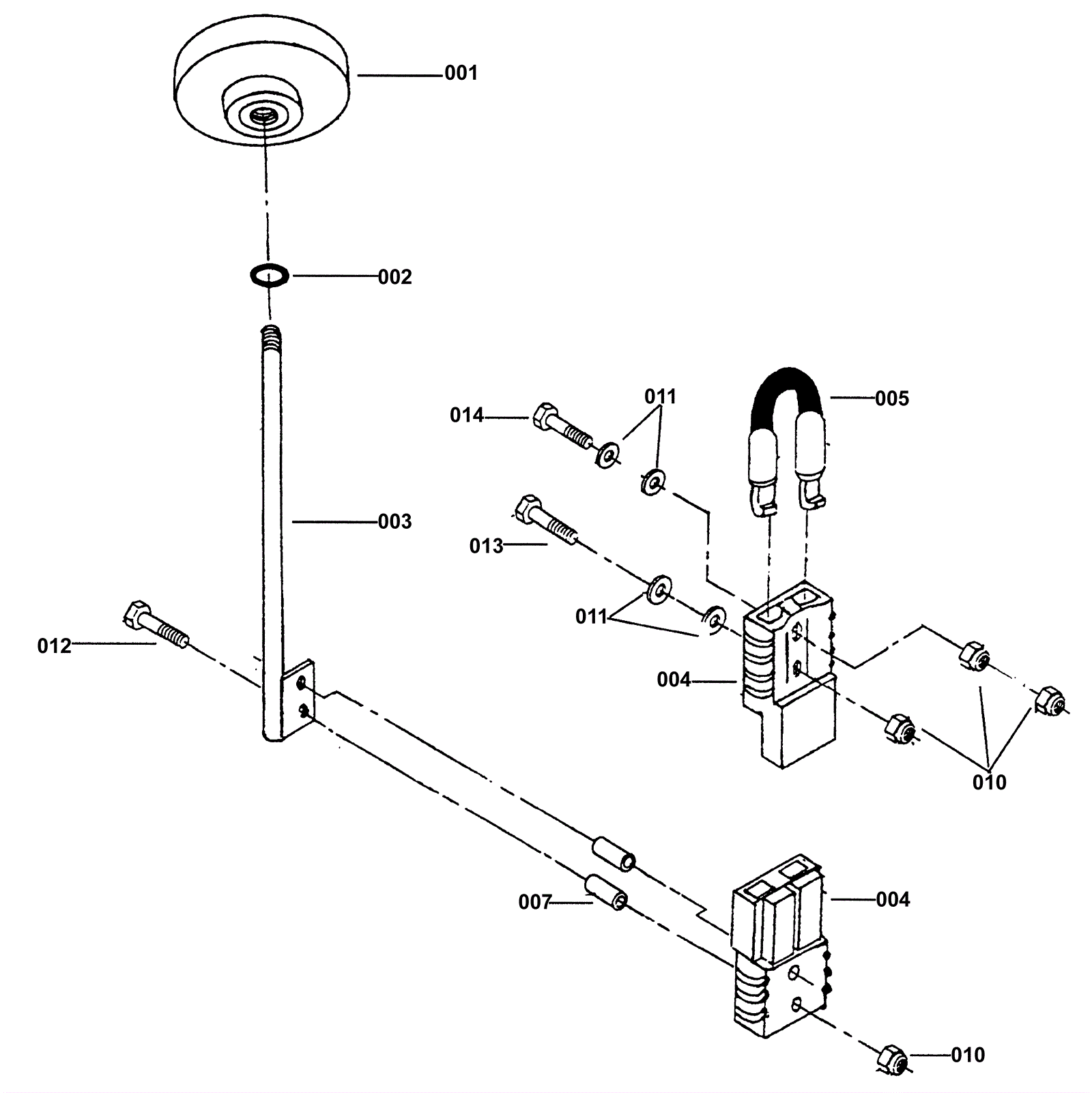
Safety Switch Assembly
Click to enlarge