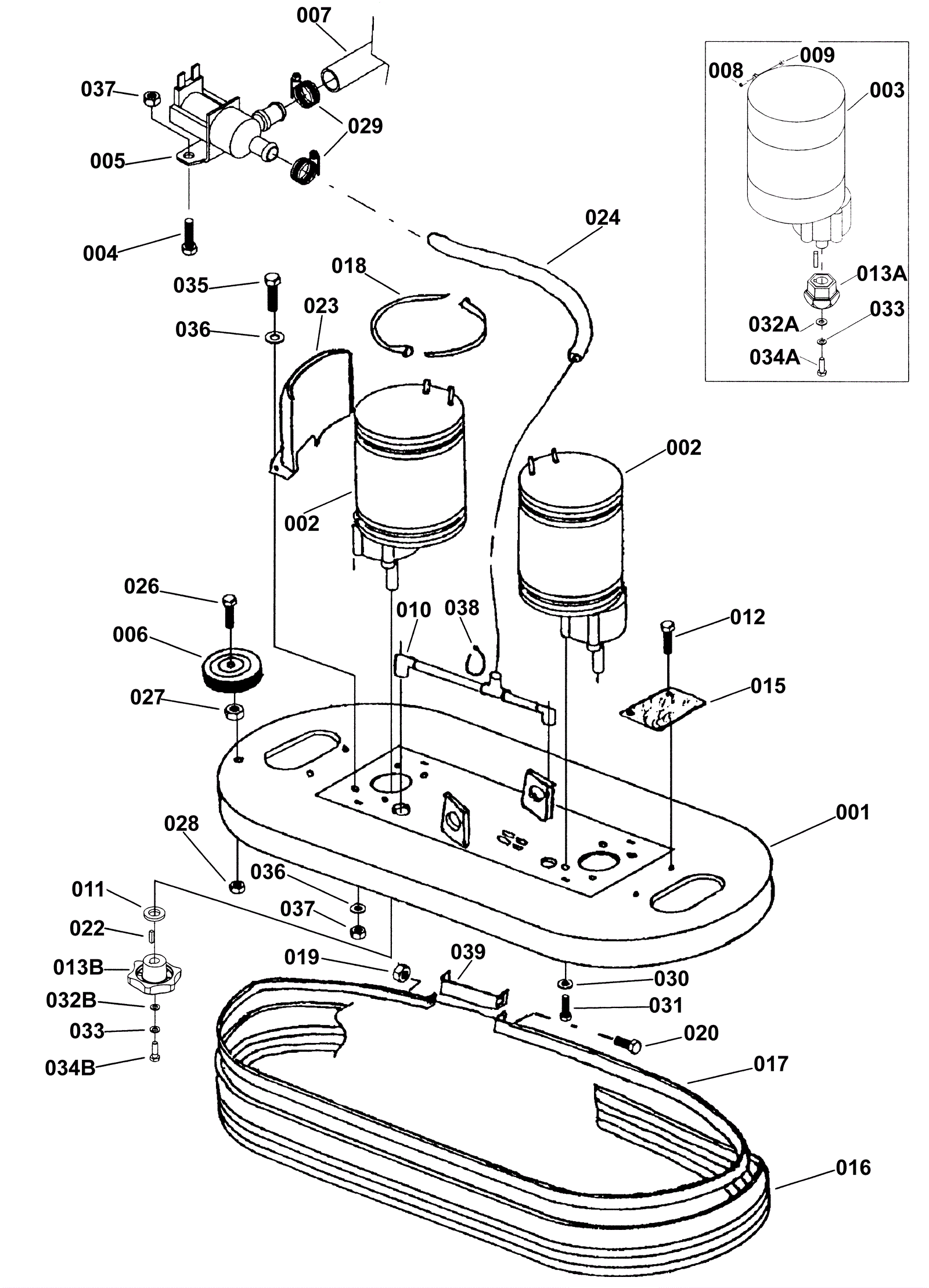
Scrub Head (34in) Assembly
Click to enlarge