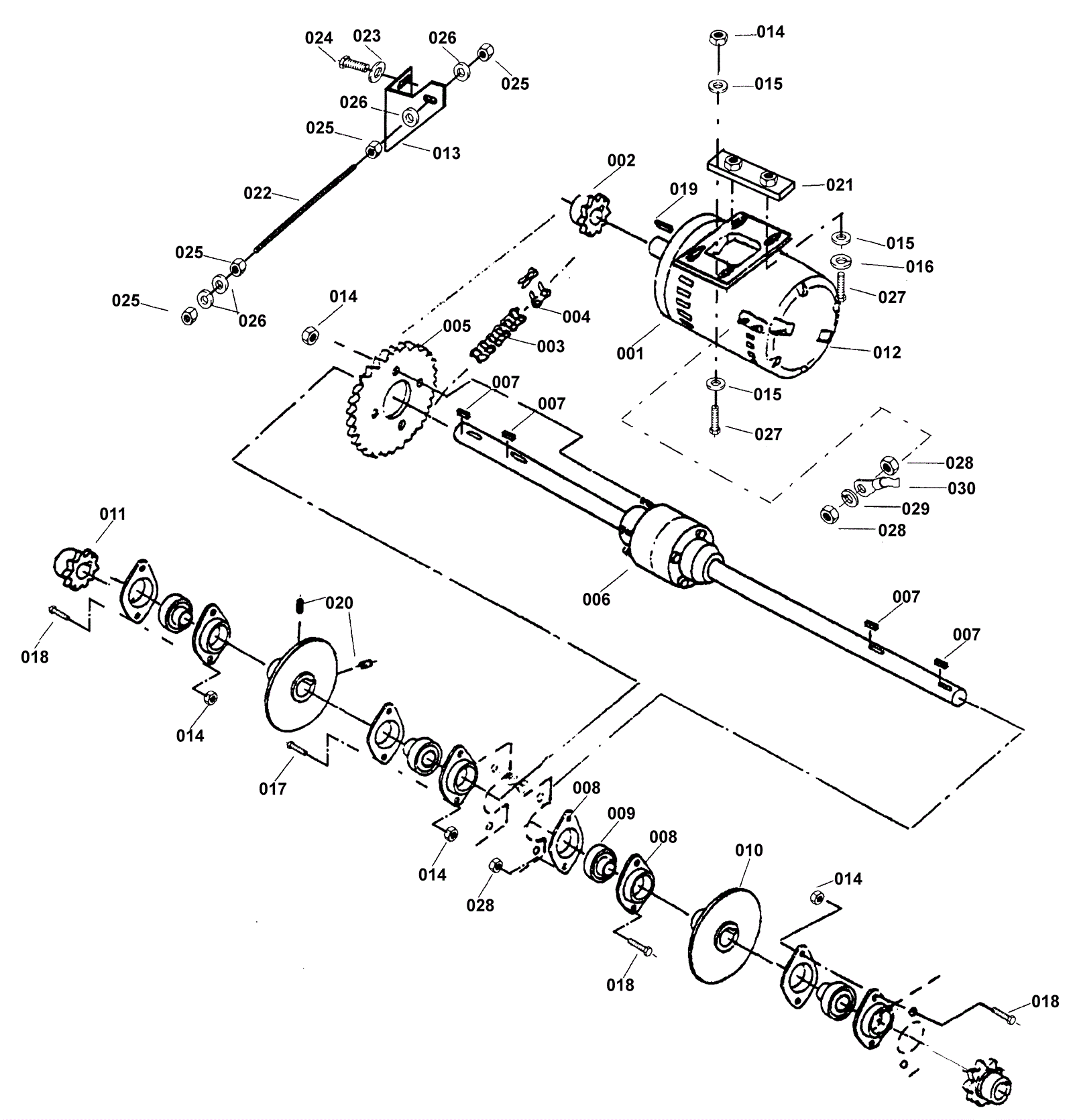
Differential Assembly
Click to enlarge