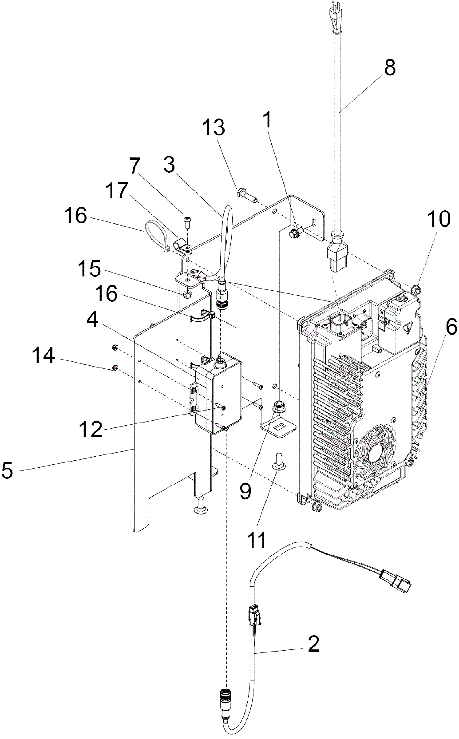
# | Part | Description | Price | Req | Notes | Availability |
1 |
273-0640
|
Screw 1/4 x 1/2 inch whiz loc flange |
$0.99
|
1 |
|
usually ships 11-15 days |
2 |
273-3825
|
Cable |
$220.00
|
1 |
|
usually ships 11-15 days |
3 |
273-3826
|
Battery cable |
$207.90
|
1 |
|
usually ships 11-15 days |
4 |
273-3827
|
Battery lynkk module |
$546.70
|
1 |
|
usually ships 11-15 days |
5 |
273-3828
|
Lithium battery charger bracket |
$83.05
|
1 |
|
usually ships 11-15 days |
6 |
273-3829
|
36V OBC battery charger |
$1,097.80
|
1 |
|
usually ships 11-15 days |
7 |
999-9151
|
Screw #10-32 x 1/2 truss head phillips |
$0.99
|
1 |
|
usually ships 16-20 days |
8 |
273-7584
|
16/3 cord assembly |
$59.44
|
1 |
|
usually ships 11-15 days |
9 |
999-0525
|
Nut 5/16-18 flange lock serrated zinc plated |
$0.99
|
2 |
|
ships same day |
10 |
999-0595
|
Nut 1/4-20 flange lock serrated zinc plated |
$0.99
|
2 |
|
ships same day |
11 |
999-0967
|
Bolt 5/16-18 x 3/4 carriage head stainless steel |
$2.16
|
2 |
|
ships same day |
12 |
999-1330
|
Screw 4-40 x 1/2 pan head stainless steel |
$0.99
|
4 |
|
ships same day |
13 |
999-1401
|
Bolt 1/4-20 x 1 carriage head stainless steel |
$1.23
|
2 |
|
ships same day |
14 |
999-0295
|
Nut 4-40 nylon insert lock stainless steel |
$0.99
|
4 |
|
ships same day |
15 |
999-0442
|
Nut 10-24 nylon insert lock stainless steel |
$1.76
|
1 |
|
ships same day |
16 |
273-3820
|
11 inch cable tie |
$0.41
|
3 |
|
ships same day |
17 |
173-1709
|
P clamp (OBSOLETE) |
$2.30
|
1 |
|
usually ships 11-15 days |