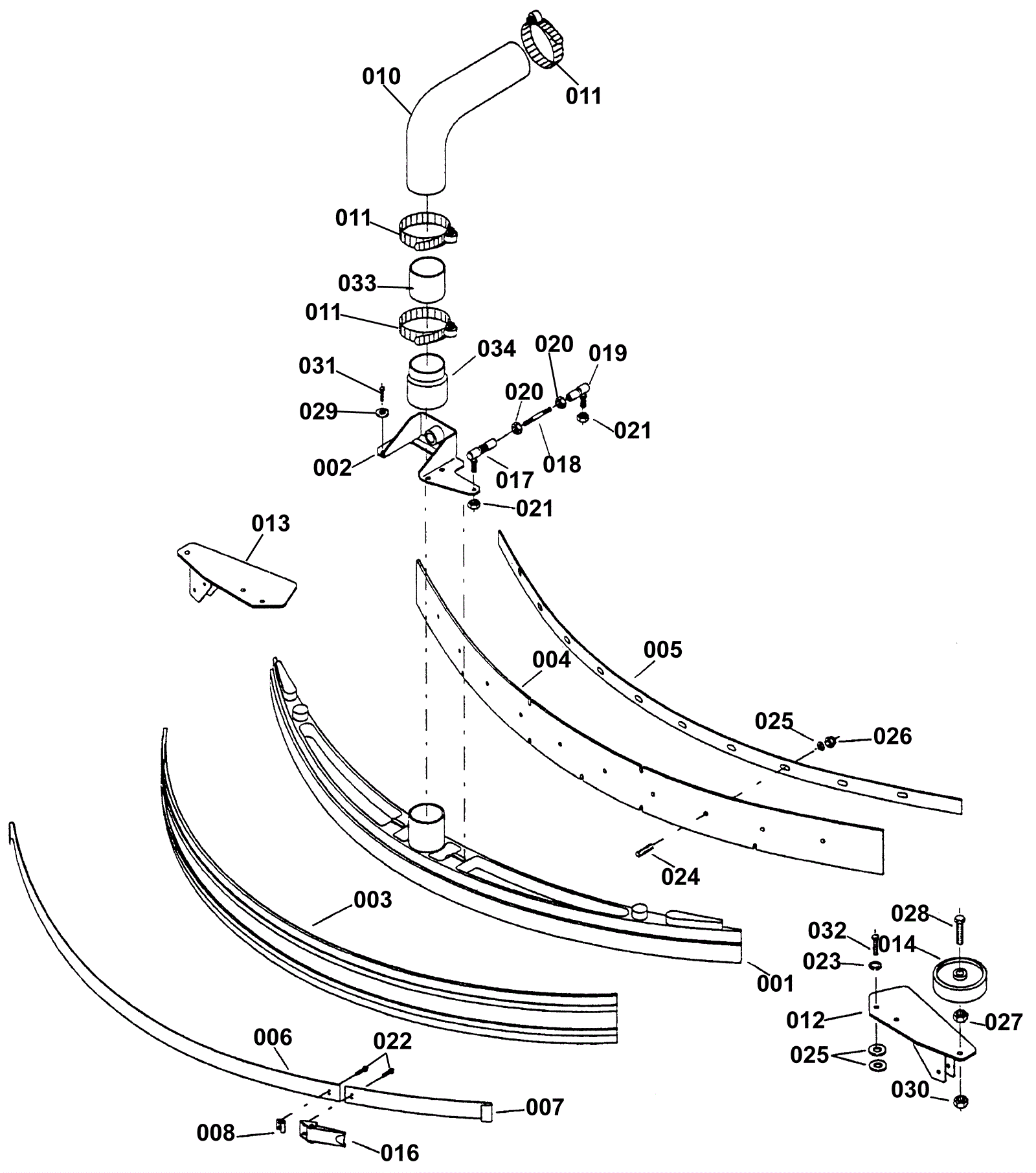
Squeegee Group