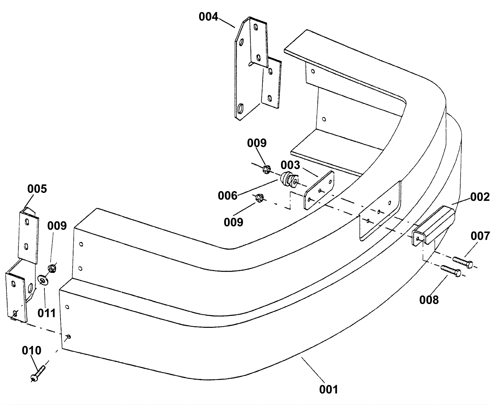
Cylindrical Scrub Head Front Bumper Group 1
Click to enlarge