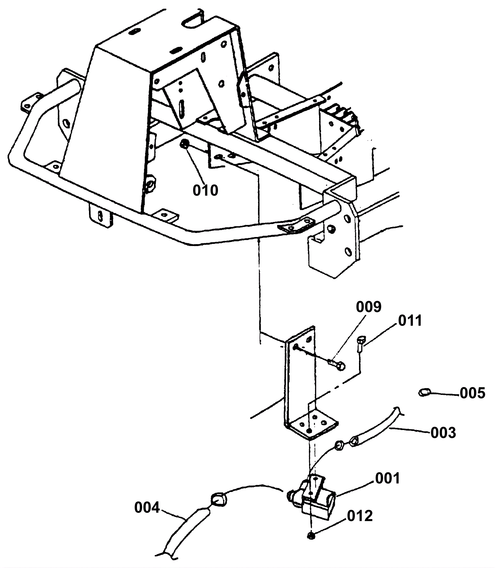
Cylindrical Scrub Head Valve Assembly
Click to enlarge