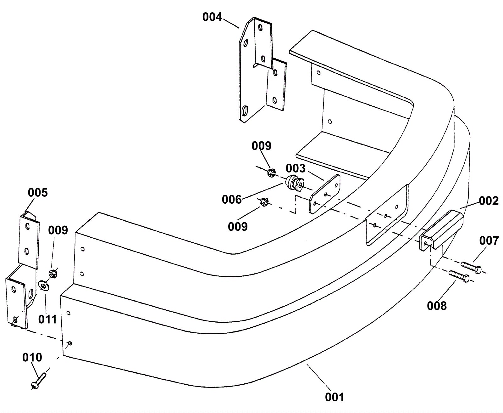
Bumper Group
Click to enlarge