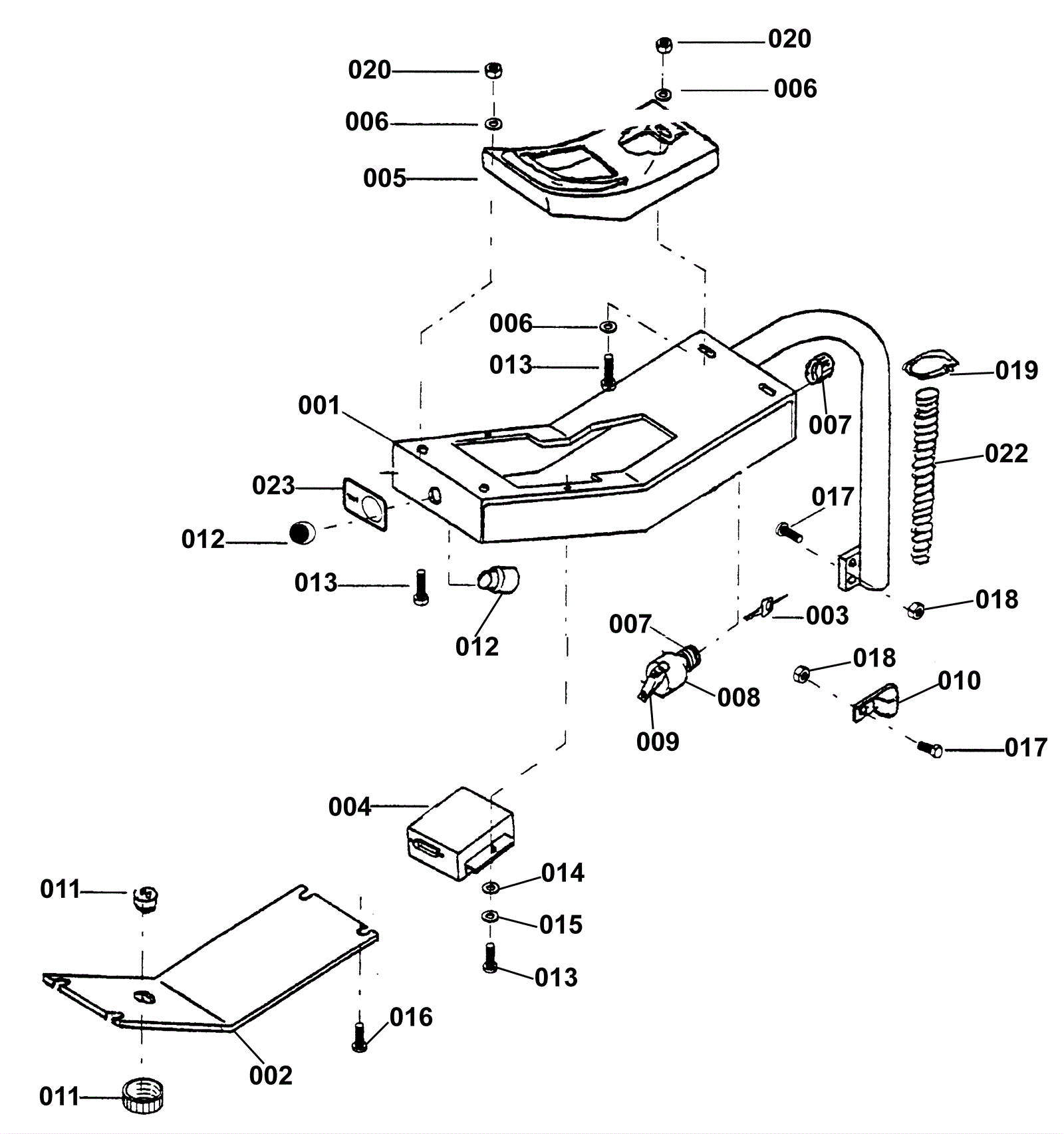
Touch Pad Group
Click to enlarge