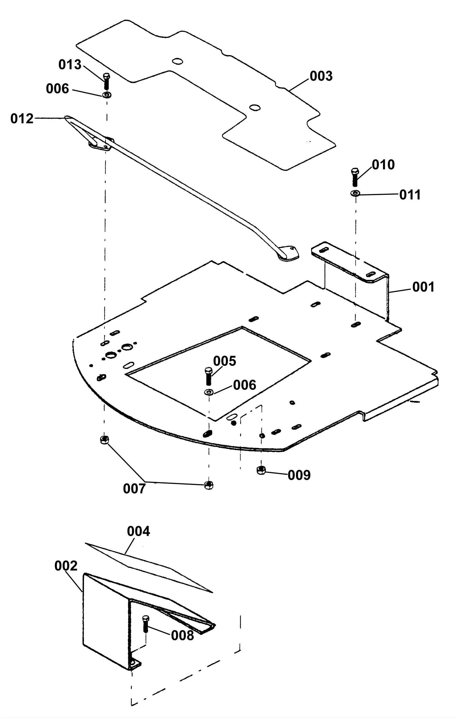
Floor Group
Click to enlarge