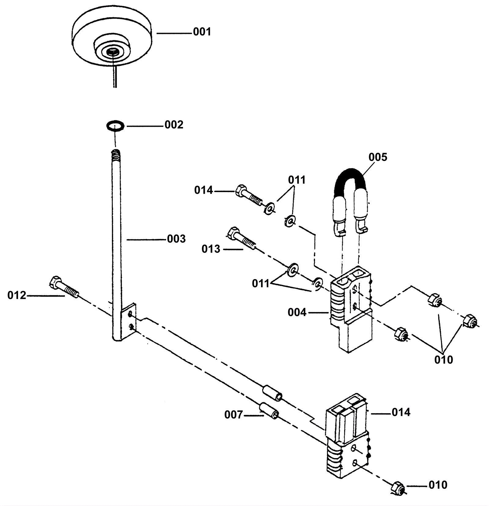
Safety Switch Group
Click to enlarge