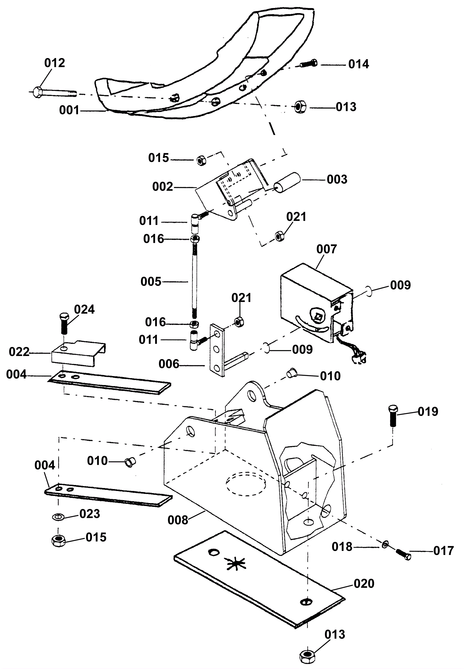
Pedal Group
Click to enlarge