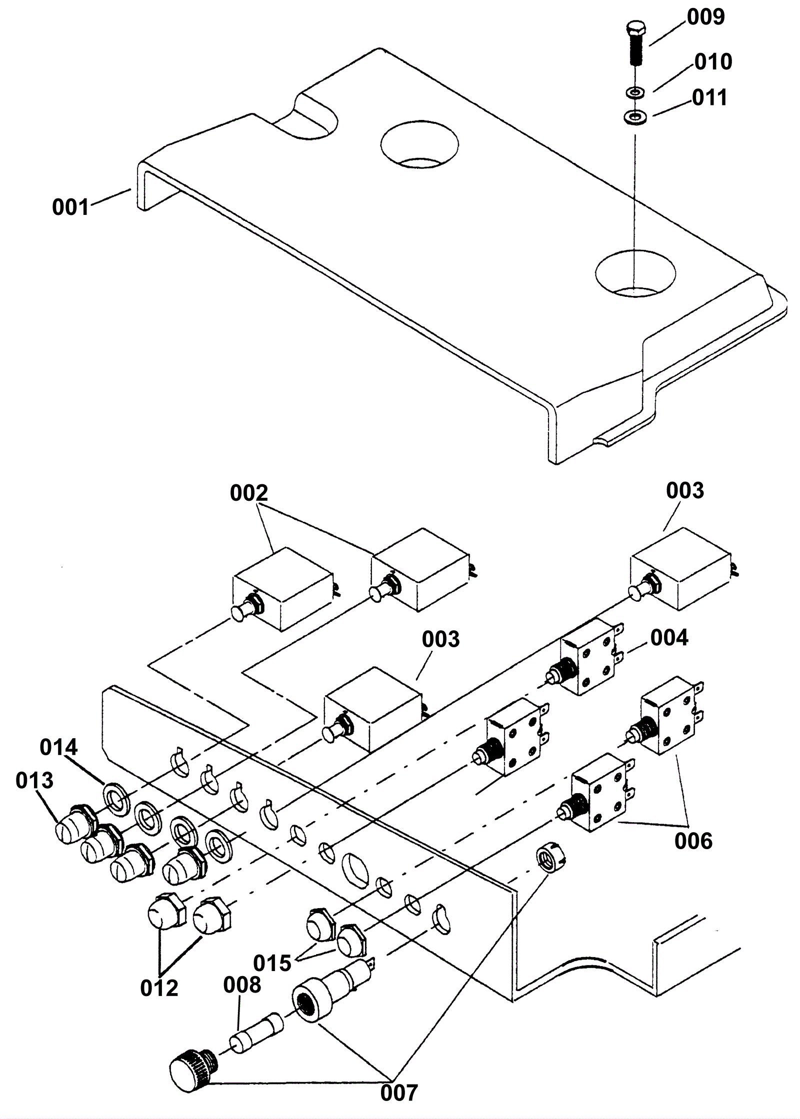
Circuit Breaker Group
Click to enlarge