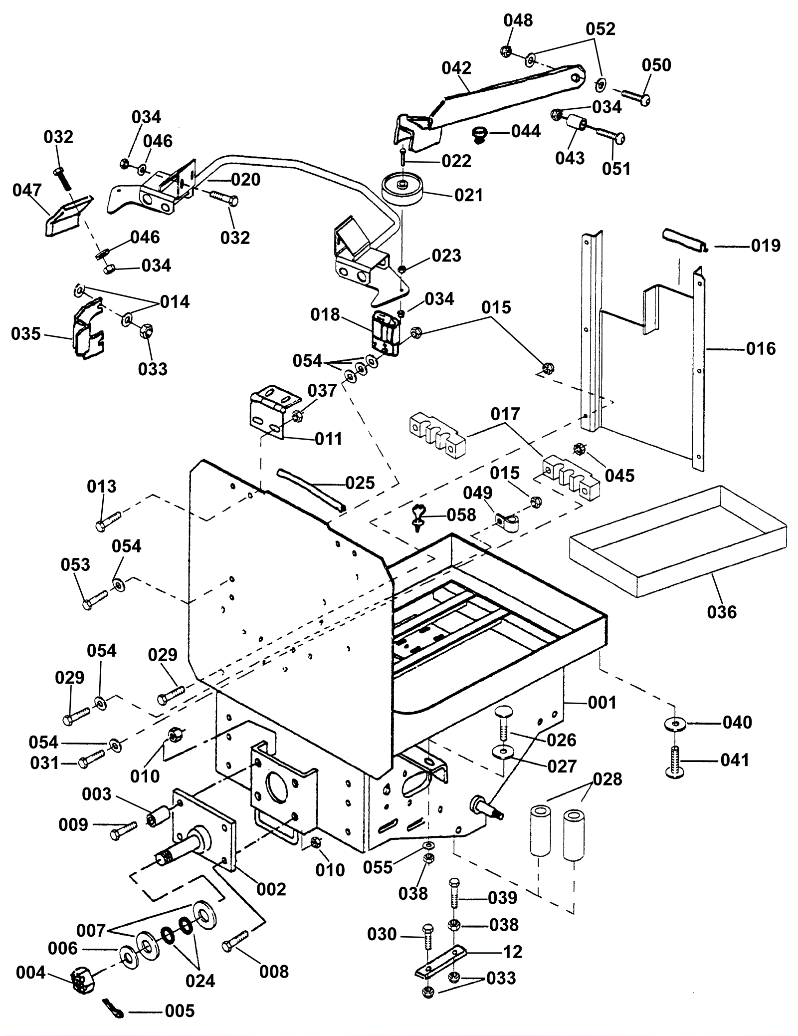
Rear Frame Group
Click to enlarge