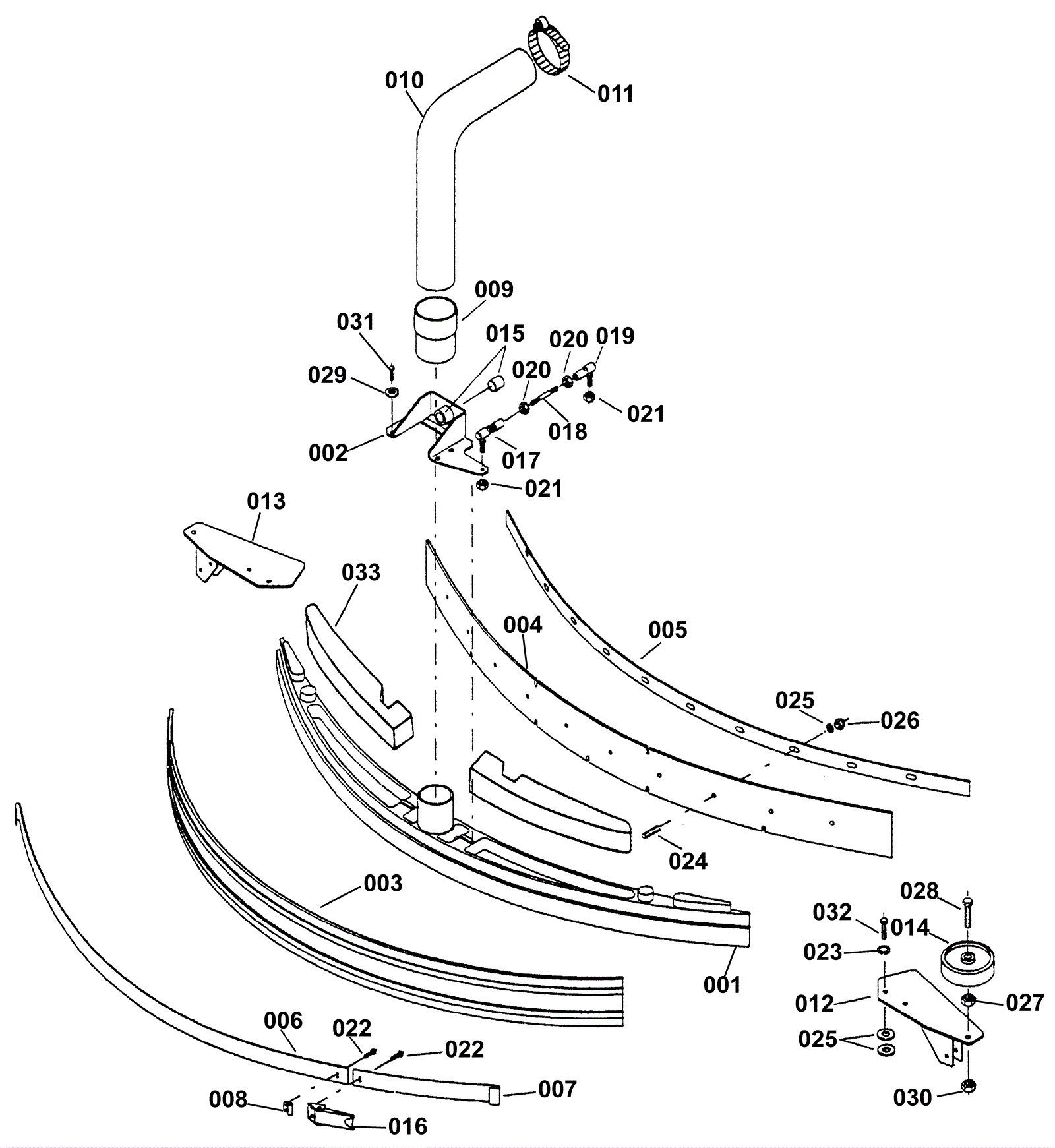
Squeegee Group
Click to enlarge