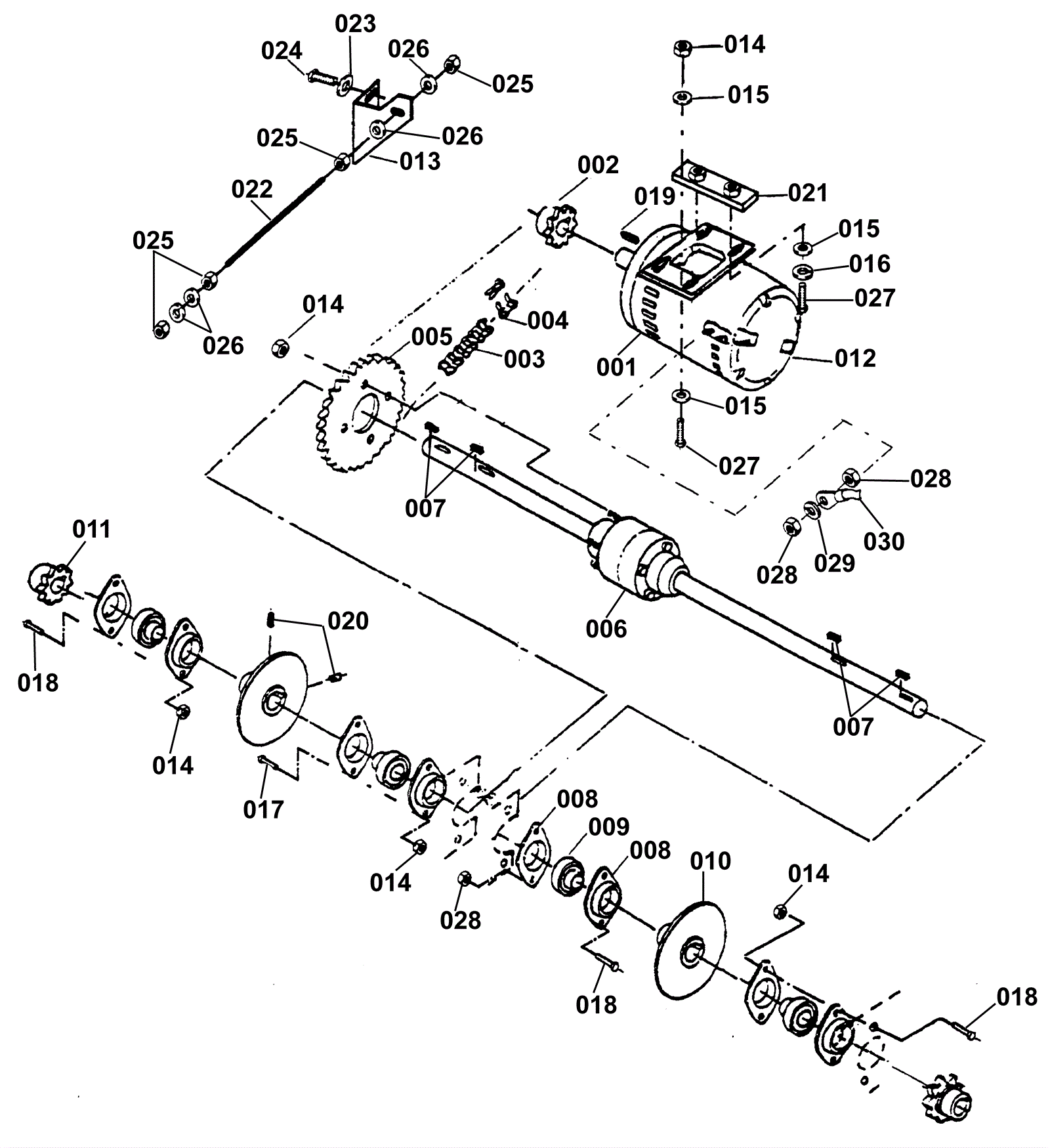
Differential Group
Click to enlarge